Официальное опубликование правовых актов
ОФИЦИАЛЬНОЕ ОПУБЛИКОВАНИЕ
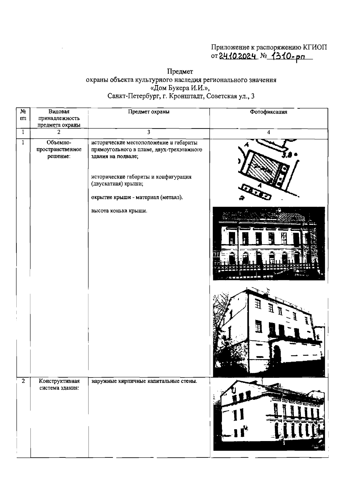
Распоряжение Комитета по государственному контролю, использованию и охране памятников истории и культуры от 24.10.2024 № 1310-рп
"Об утверждении предмета охраны объекта культурного наследия регионального значения "Дом Букера И.И."
(Зарегистрирован 25.10.2024 № 49169)
Номер опубликования: 7801202410280010
Дата опубликования: 28.10.2024
Страница №2 из 3:
Увеличить