Официальное опубликование правовых актов
ОФИЦИАЛЬНОЕ ОПУБЛИКОВАНИЕ
Распоряжение Комитета по государственному контролю, использованию и охране памятников истории и культуры от 24.10.2024 № 1312-рп
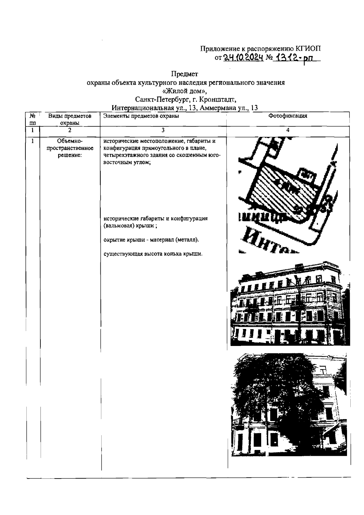
"Об утверждении предмета охраны объекта культурного наследия регионального значения "Жилой дом"
(Зарегистрирован 25.10.2024 № 49171)
Номер опубликования: 7801202410280008
Дата опубликования: 28.10.2024
Страница №2 из 6:
Увеличить