Официальное опубликование правовых актов
ОФИЦИАЛЬНОЕ ОПУБЛИКОВАНИЕ
Распоряжение Комитета по государственному контролю, использованию и охране памятников истории и культуры от 23.10.2024 № 1306-рп
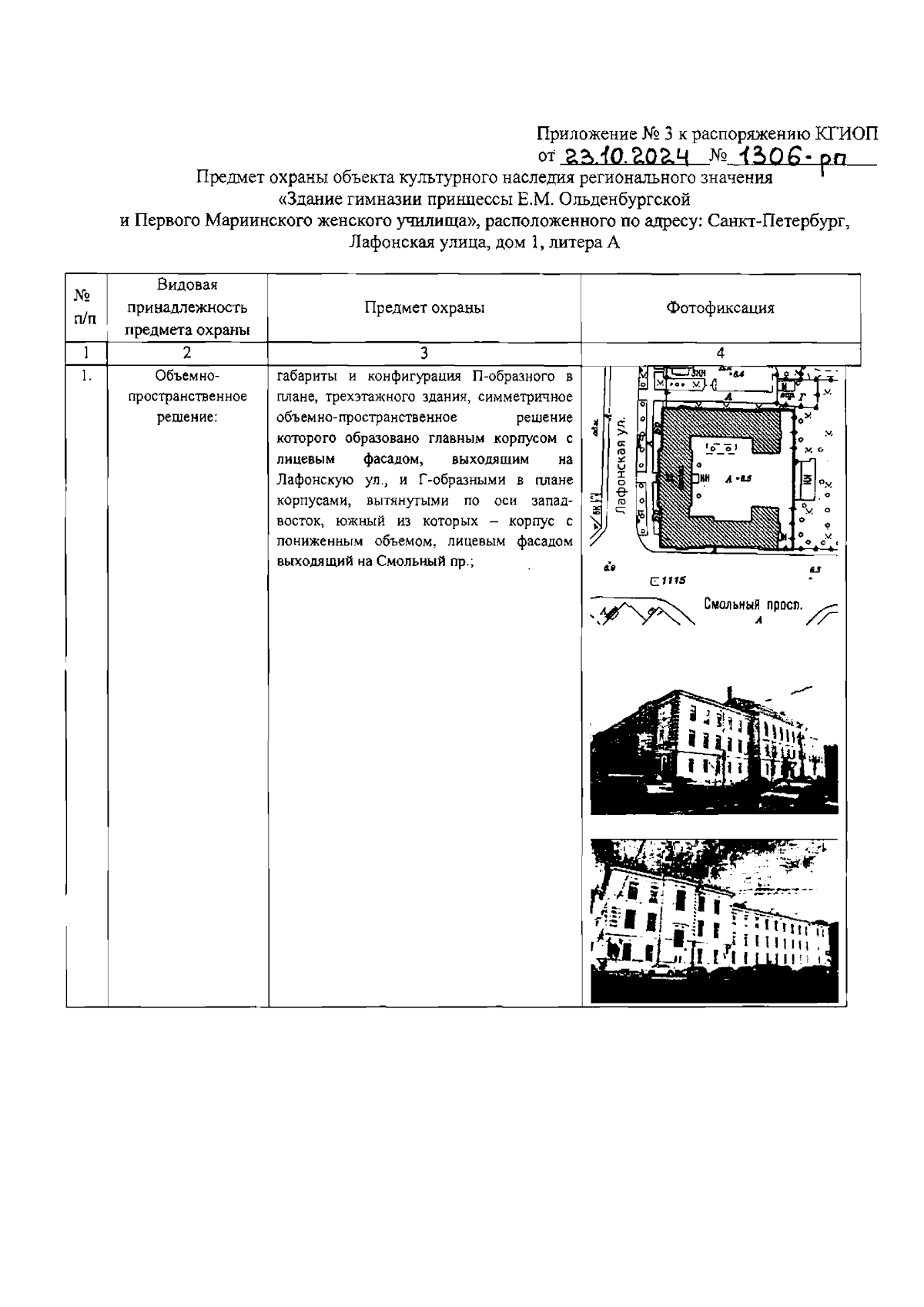
"О включении выявленного объекта культурного наследия в единый государственный реестр объектов культурного наследия (памятников истории и культуры) народов Российской Федерации в качестве объекта культурного наследия регионального значения "Здание гимназии принцессы Е.М. Ольденбургской и Первого Мариинского женского училища", об утверждении границ и режима использования территории объекта культурного наследия, об утверждении предмета охраны объекта культурного наследия"
(Зарегистрирован 24.10.2024 № 49159)
Номер опубликования: 7801202410250014
Дата опубликования: 25.10.2024
Страница №8 из 25:
Увеличить