Официальное опубликование правовых актов
ОФИЦИАЛЬНОЕ ОПУБЛИКОВАНИЕ
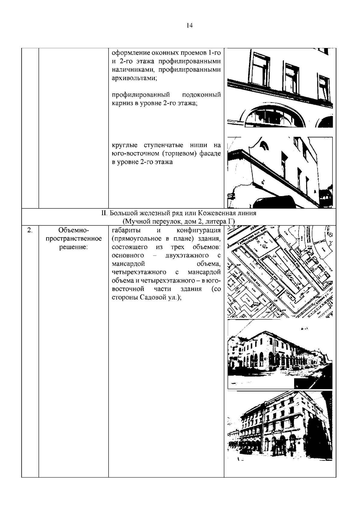
Распоряжение Комитета по государственному контролю, использованию и охране памятников истории и культуры от 11.10.2024 № 1282-рп
"О включении выявленного объекта культурного наследия в единый государственный реестр объектов культурного наследия (памятников истории и культуры) народов Российской Федерации в качестве объекта культурного наследия регионального значения "Малый Гостиный двор", об утверждении границ и режима использования территории объекта культурного наследия, об утверждении предмета охраны культурного наследия"
(Зарегистрирован 16.10.2024 № 49099)
Номер опубликования: 7801202410170005
Дата опубликования: 17.10.2024
Страница №25 из 72:
Увеличить