Официальное опубликование правовых актов
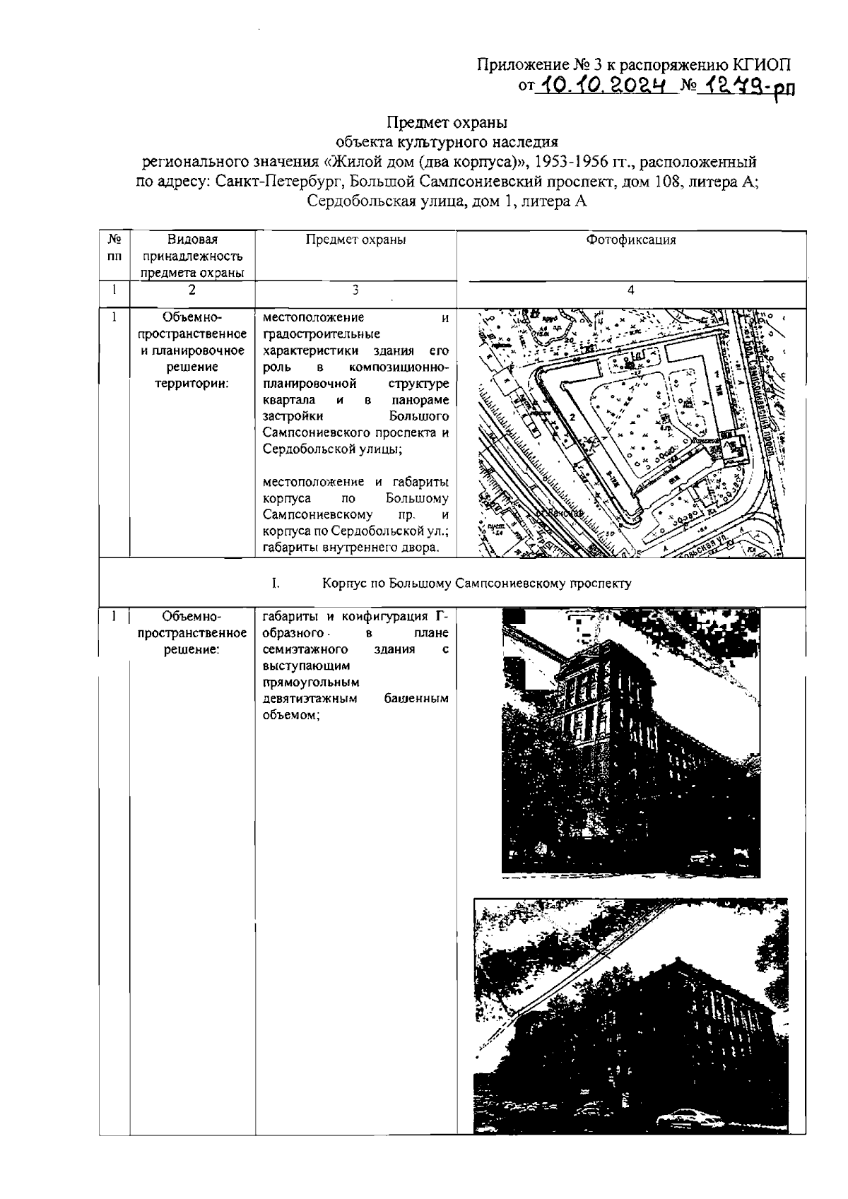
ОФИЦИАЛЬНОЕ ОПУБЛИКОВАНИЕ
Распоряжение Комитета по государственному контролю, использованию и охране памятников истории и культуры от 10.10.2024 № 1279-рп
"О включении выявленного объекта культурного наследия в единый государственный реестр объектов культурного наследия (памятников истории и культуры) народов Российской Федерации в качестве объекта культурного наследия регионального значения "Жилой дом (два корпуса)", об утверждении границ и режима использования территории объекта культурного наследия, об утверждении предмета охраны объекта культурного наследия"
(Зарегистрирован 11.10.2024 № 49084)
Номер опубликования: 7801202410140007
Дата опубликования: 14.10.2024
Страница №7 из 25:
Увеличить