Официальное опубликование правовых актов
ОФИЦИАЛЬНОЕ ОПУБЛИКОВАНИЕ
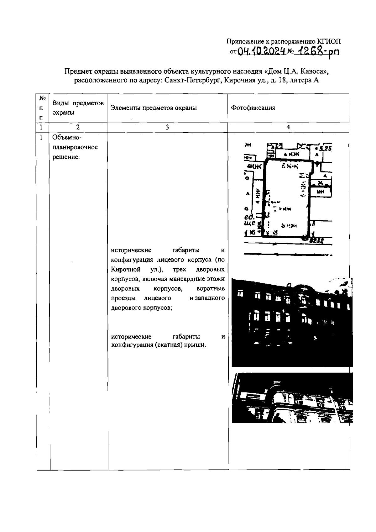
Распоряжение Комитета по государственному контролю, использованию и охране памятников истории и культуры от 04.10.2024 № 1268-рп
"Об утверждении предмета охраны выявленного объекта культурного наследия "Дом Ц.А. Кавоса"
(Зарегистрирован 07.10.2024 № 49051)
Номер опубликования: 7801202410100003
Дата опубликования: 10.10.2024
Страница №2 из 24:
Увеличить