Официальное опубликование правовых актов
ОФИЦИАЛЬНОЕ ОПУБЛИКОВАНИЕ
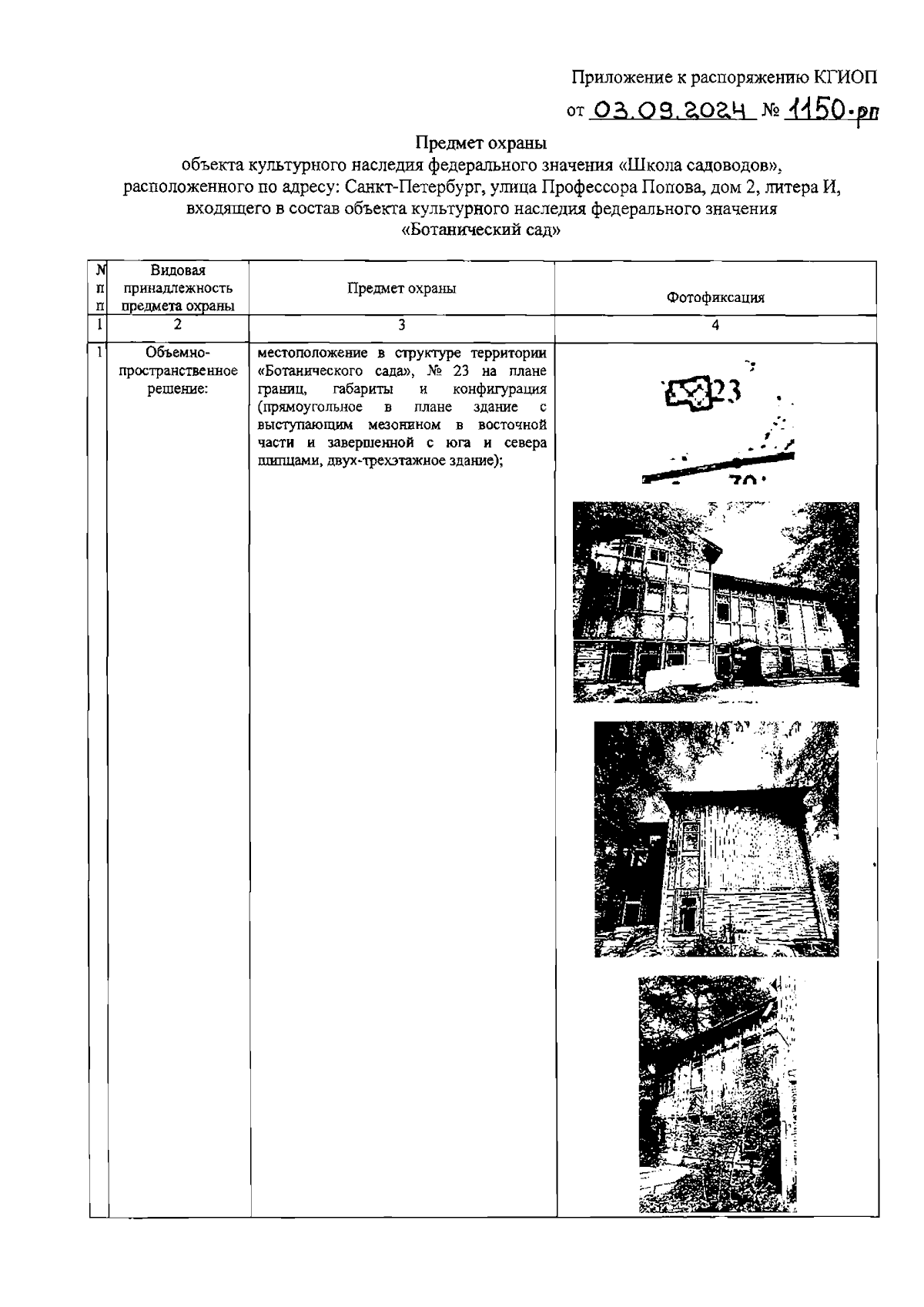
Распоряжение Комитета по государственному контролю, использованию и охране памятников истории и культуры от 03.09.2024 № 1150-рп
"Об утверждении предмета охраны объекта культурного наследия федерального значения "Школа садоводов", входящего в состав объекта культурного наследия федерального значения "Ботанический сад"
(Зарегистрирован 05.09.2024 № 48805)
Номер опубликования: 7801202409100027
Дата опубликования: 10.09.2024
Страница №2 из 5:
Увеличить