Официальное опубликование правовых актов
ОФИЦИАЛЬНОЕ ОПУБЛИКОВАНИЕ
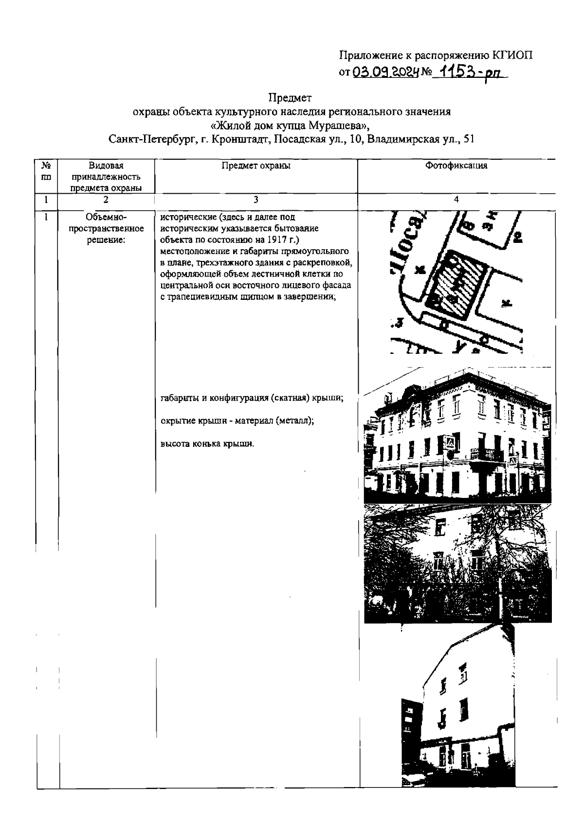
Распоряжение Комитета по государственному контролю, использованию и охране памятников истории и культуры от 03.09.2024 № 1153-рп
"Об утверждении предмета охраны объекта культурного наследия регионального значения "Жилой дом купца Мурашева"
(Зарегистрирован 05.09.2024 № 48808)
Номер опубликования: 7801202409100026
Дата опубликования: 10.09.2024
Страница №2 из 6:
Увеличить