Официальное опубликование правовых актов
ОФИЦИАЛЬНОЕ ОПУБЛИКОВАНИЕ
Распоряжение Комитета по государственному контролю, использованию и охране памятников истории и культуры от 03.09.2024 № 1152-рп
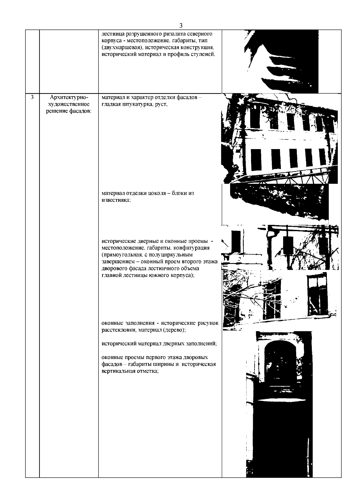
"Об утверждении предмета охраны объекта культурного наследия регионального значения "Жилой дом"
(Зарегистрирован 05.09.2024 № 48807)
Номер опубликования: 7801202409100025
Дата опубликования: 10.09.2024
Страница №4 из 7:
Увеличить