Официальное опубликование правовых актов
ОФИЦИАЛЬНОЕ ОПУБЛИКОВАНИЕ
Распоряжение Комитета по государственному контролю, использованию и охране памятников истории и культуры от 03.09.2024 № 1149-рп
"О внесении изменения в распоряжение КГИОП от 28.10.2021 № 277-рп"
(Зарегистрирован 05.09.2024 № 48829)
Номер опубликования: 7801202409100008
Дата опубликования: 10.09.2024
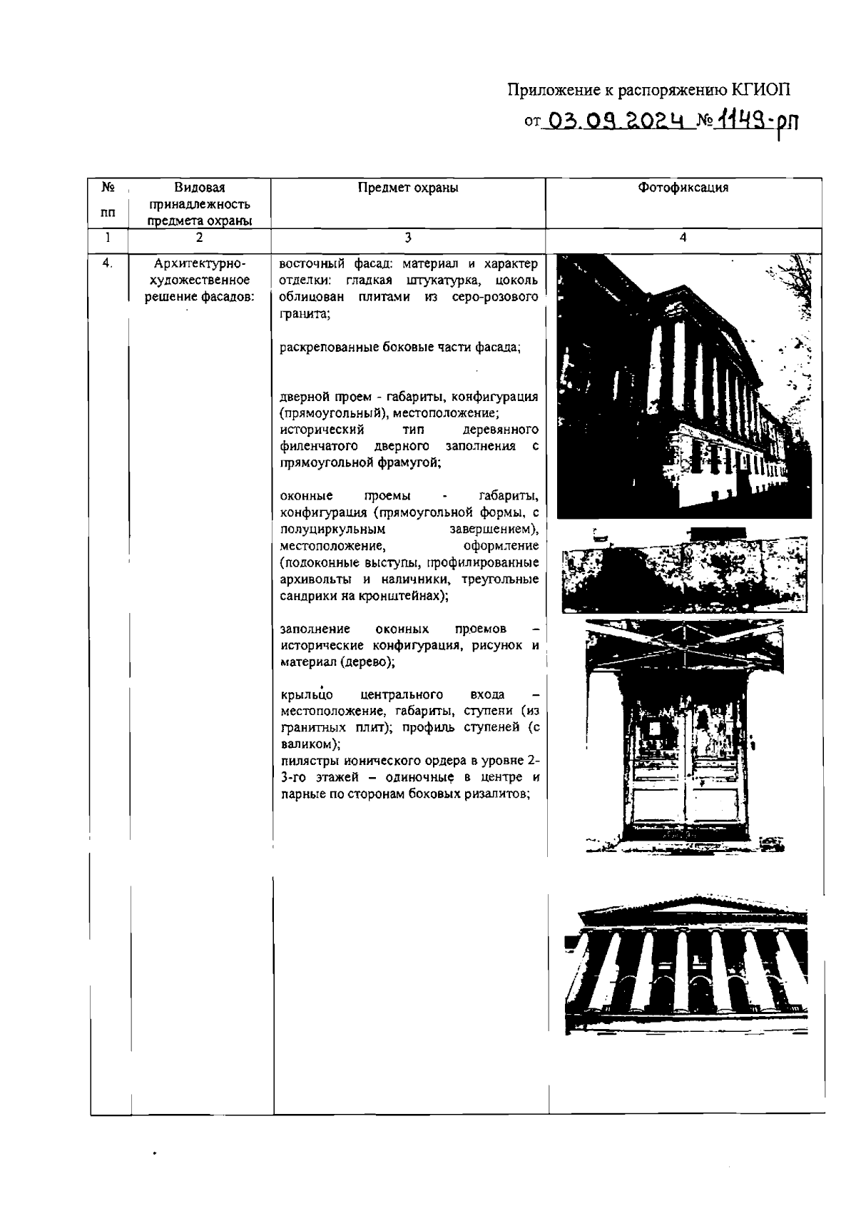
Страница №2 из 13:
Увеличить