Официальное опубликование правовых актов
ОФИЦИАЛЬНОЕ ОПУБЛИКОВАНИЕ
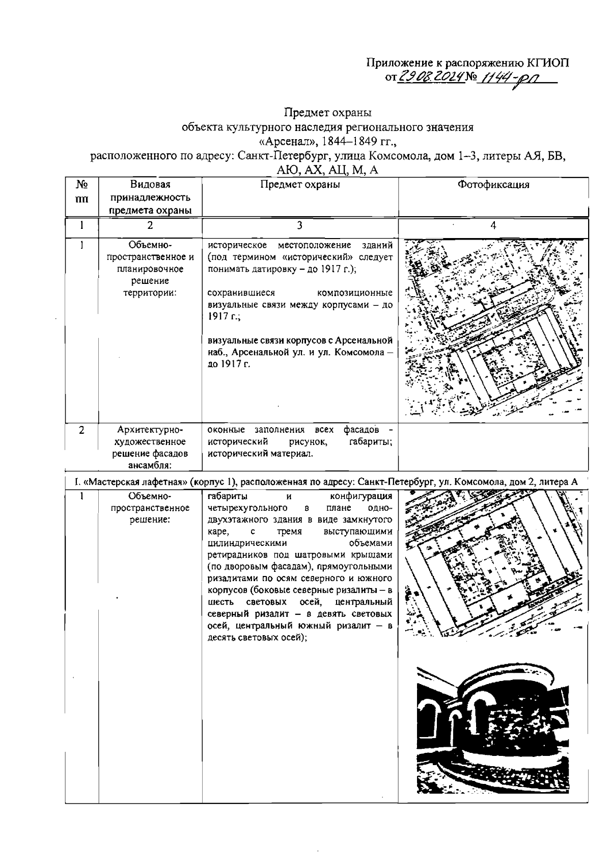
Распоряжение Комитета по государственному контролю, использованию и охране памятников истории и культуры от 29.08.2024 № 1144-рп
"Об утверждении предмета охраны объекта культурного наследия регионального значения "Арсенал"
(Зарегистрирован 29.08.2024 № 48774)
Номер опубликования: 7801202409020009
Дата опубликования: 02.09.2024
Страница №2 из 55:
Увеличить