Официальное опубликование правовых актов
ОФИЦИАЛЬНОЕ ОПУБЛИКОВАНИЕ
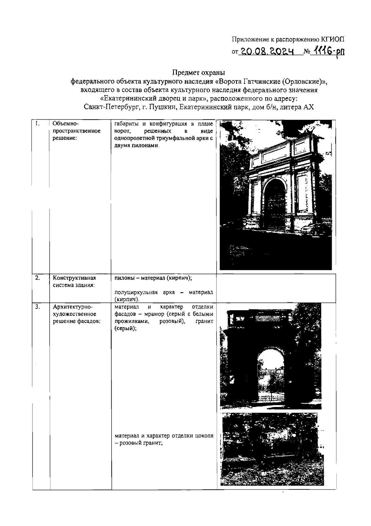
Распоряжение Комитета по государственному контролю, использованию и охране памятников истории и культуры от 20.08.2024 № 1116-рп
"Об утверждении предмета охраны объекта культурного наследия федерального значения "Ворота Гатчинские (Орловские)"
(Зарегистрирован 21.08.2024 № 48720)
Номер опубликования: 7801202408230008
Дата опубликования: 23.08.2024
Страница №2 из 6:
Увеличить