Официальное опубликование правовых актов
ОФИЦИАЛЬНОЕ ОПУБЛИКОВАНИЕ
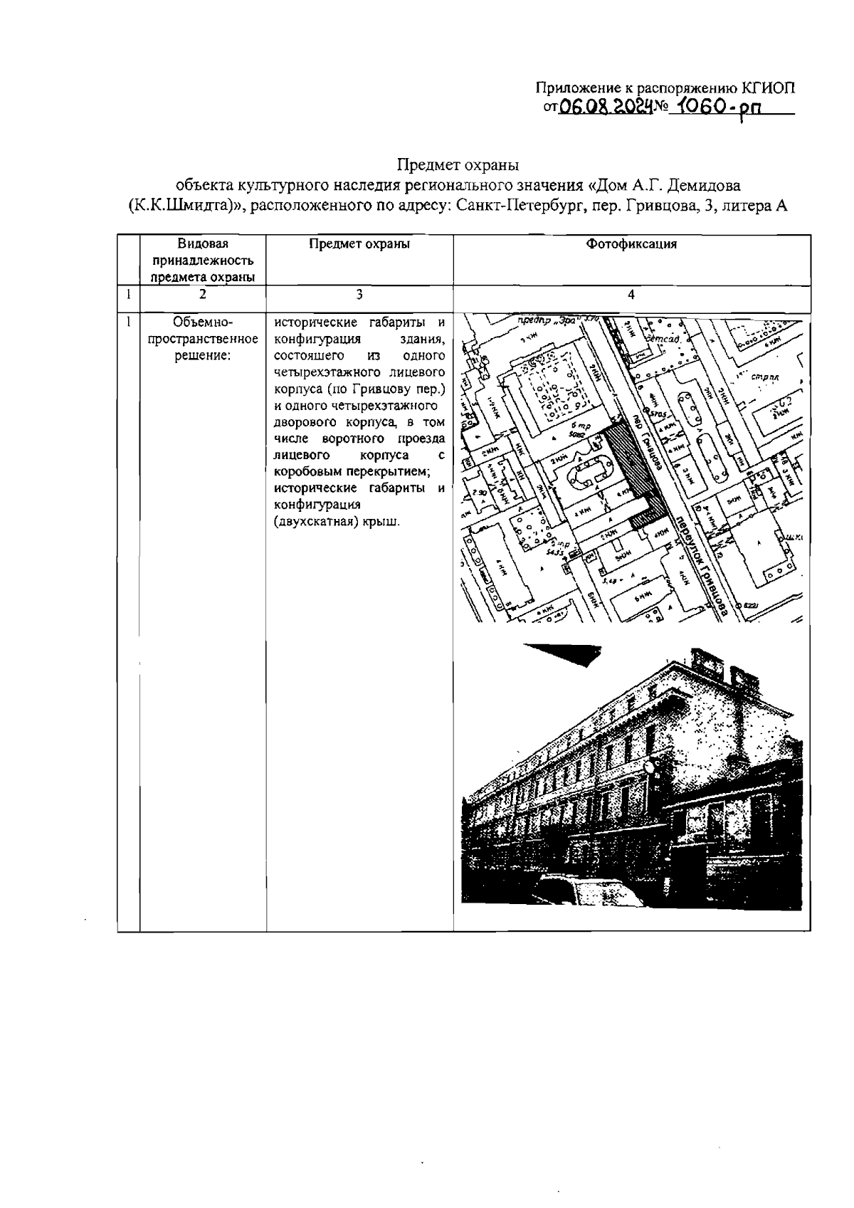
Распоряжение Комитета по государственному контролю, использованию и охране памятников истории и культуры от 06.08.2024 № 1060-рп
"Об утверждении предмета охраны объекта культурного наследия регионального значения "Дом А.Г. Демидова (К.К.Шмидта)"
(Зарегистрирован 07.08.2024 № 48621)
Номер опубликования: 7801202408080012
Дата опубликования: 08.08.2024
Страница №2 из 8:
Увеличить