Официальное опубликование правовых актов
ОФИЦИАЛЬНОЕ ОПУБЛИКОВАНИЕ
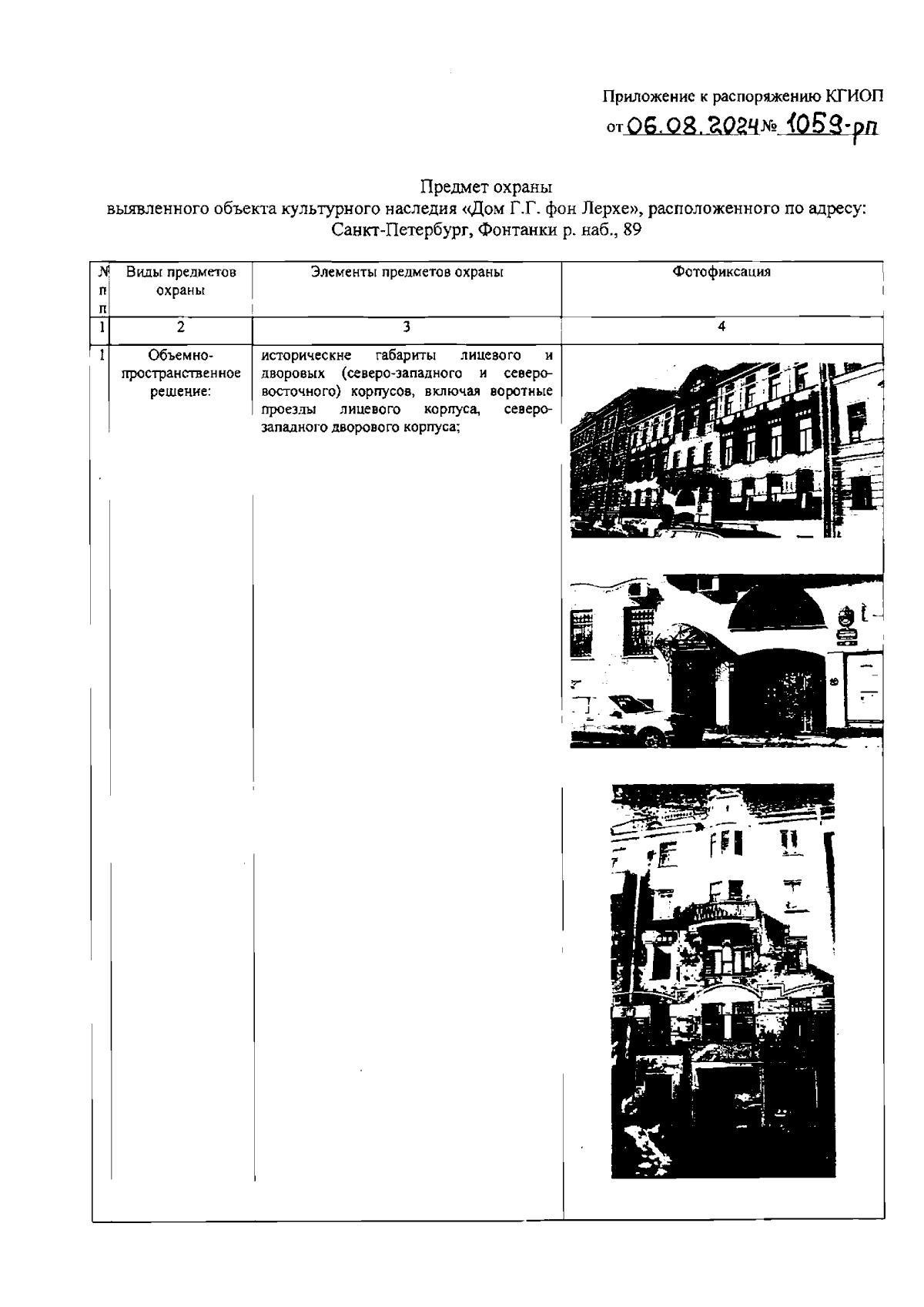
Распоряжение Комитета по государственному контролю, использованию и охране памятников истории и культуры от 06.08.2024 № 1059-рп
"Об утверждении предмета охраны выявленного объекта культурного наследия "Дом Г.Г. фон Лерхе"
(Зарегистрирован 07.08.2024 № 48620)
Номер опубликования: 7801202408080011
Дата опубликования: 08.08.2024
Страница №2 из 9:
Увеличить