Официальное опубликование правовых актов
ОФИЦИАЛЬНОЕ ОПУБЛИКОВАНИЕ
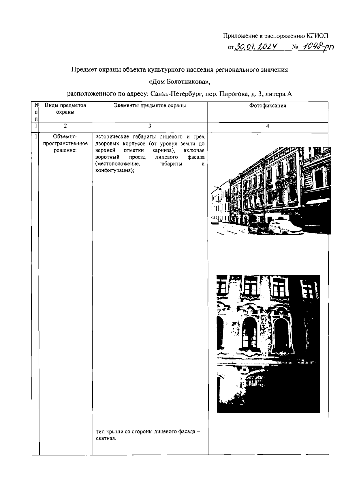
Распоряжение Комитета по государственному контролю, использованию и охране памятников истории и культуры от 30.07.2024 № 1048-рп
"Об утверждении предмета охраны объекта культурного наследия регионального значения "Дом Болотникова"
(Зарегистрирован 02.08.2024 № 48607)
Номер опубликования: 7801202408050010
Дата опубликования: 05.08.2024
Страница №2 из 5:
Увеличить