Официальное опубликование правовых актов
ОФИЦИАЛЬНОЕ ОПУБЛИКОВАНИЕ
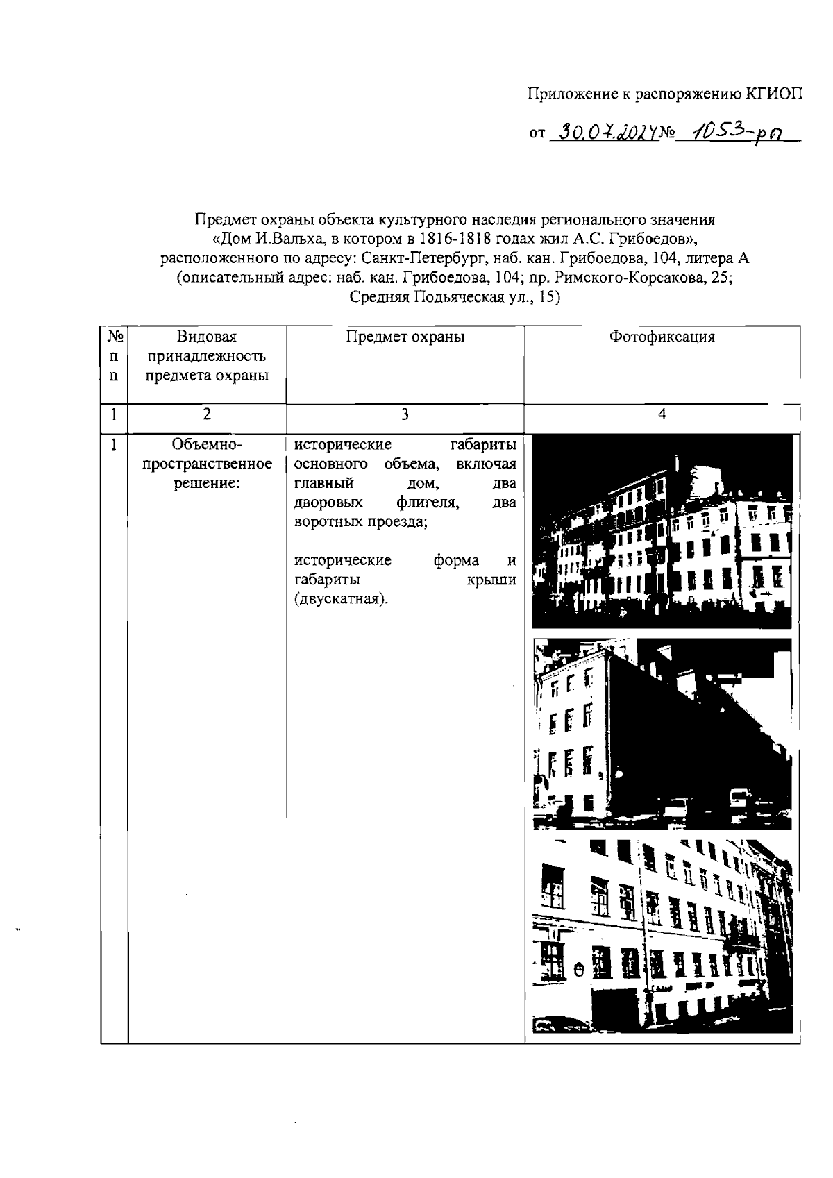
Распоряжение Комитета по государственному контролю, использованию и охране памятников истории и культуры от 30.07.2024 № 1053-рп
"Об утверждении предмета охраны объекта культурного наследия регионального значения "Дом И.Вальха, в котором в 1816-1818 годах жил А.С. Грибоедов"
(Зарегистрирован 31.07.2024 № 48593)
Номер опубликования: 7801202408020004
Дата опубликования: 02.08.2024
Страница №2 из 5:
Увеличить