Официальное опубликование правовых актов
ОФИЦИАЛЬНОЕ ОПУБЛИКОВАНИЕ
Распоряжение Комитета по государственному контролю, использованию и охране памятников истории и культуры от 30.07.2024 № 1049-рп
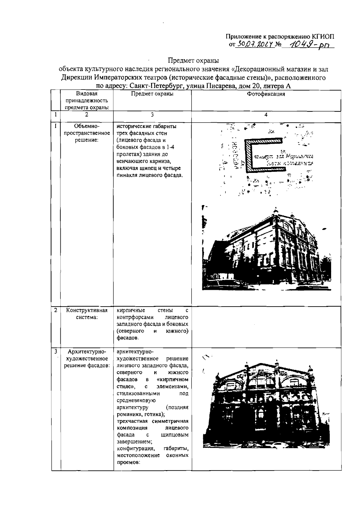
"Об утверждении предмета охраны объекта культурного наследия регионального значения "Декорационный магазин и зал Дирекции Императорских театров (исторические фасадные стены)"
(Зарегистрирован 31.07.2024 № 48589)
Номер опубликования: 7801202408020001
Дата опубликования: 02.08.2024
Страница №2 из 5:
Увеличить