Официальное опубликование правовых актов
ОФИЦИАЛЬНОЕ ОПУБЛИКОВАНИЕ
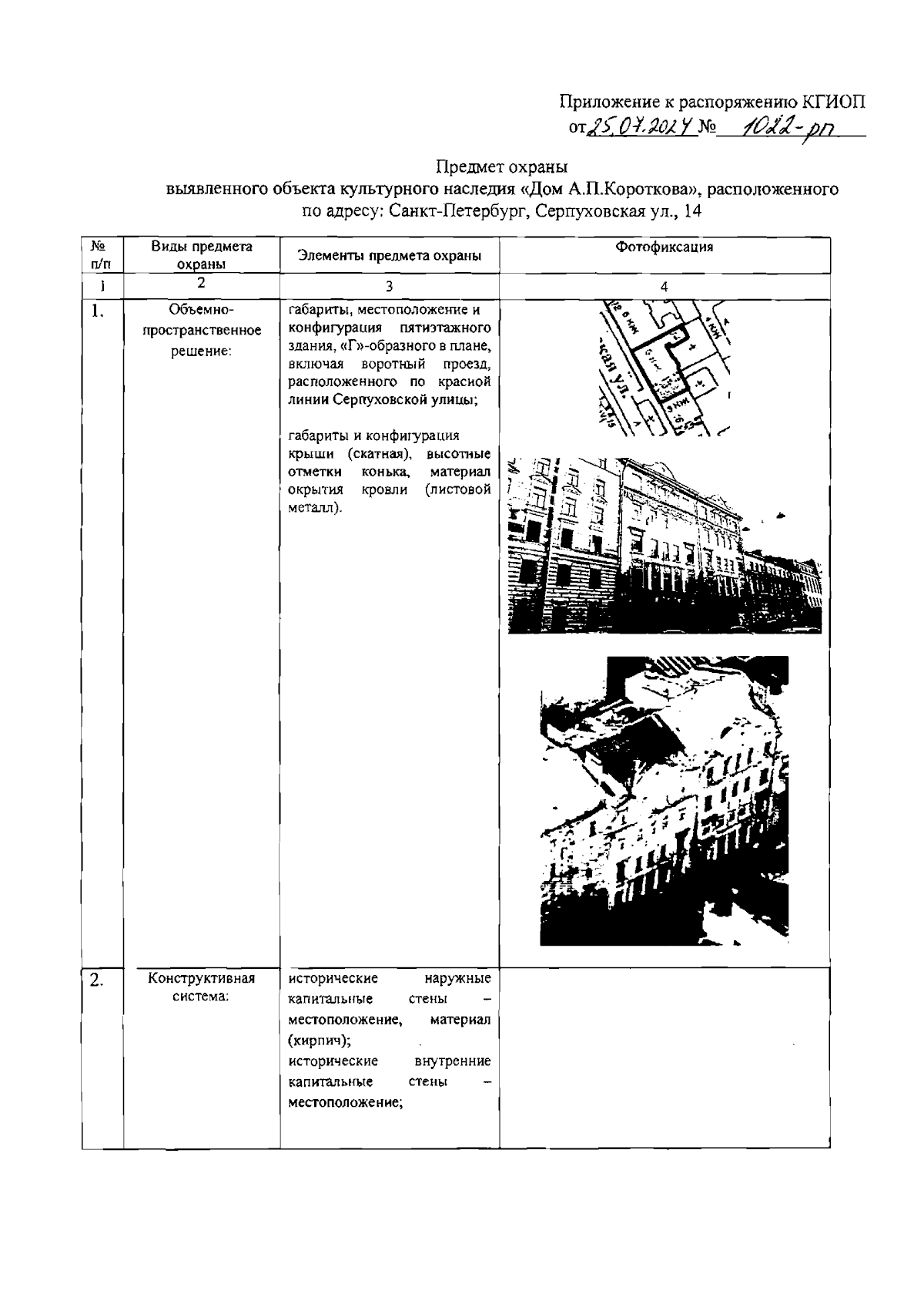
Распоряжение Комитета по государственному контролю, использованию и охране памятников истории и культуры от 25.07.2024 № 1022-рп
"Об утверждении предмета охраны выявленного объекта культурного наследия "Дом А.П.Короткова"
(Зарегистрирован 26.07.2024 № 48560)
Номер опубликования: 7801202407310013
Дата опубликования: 31.07.2024
Страница №2 из 9:
Увеличить