Официальное опубликование правовых актов
ОФИЦИАЛЬНОЕ ОПУБЛИКОВАНИЕ
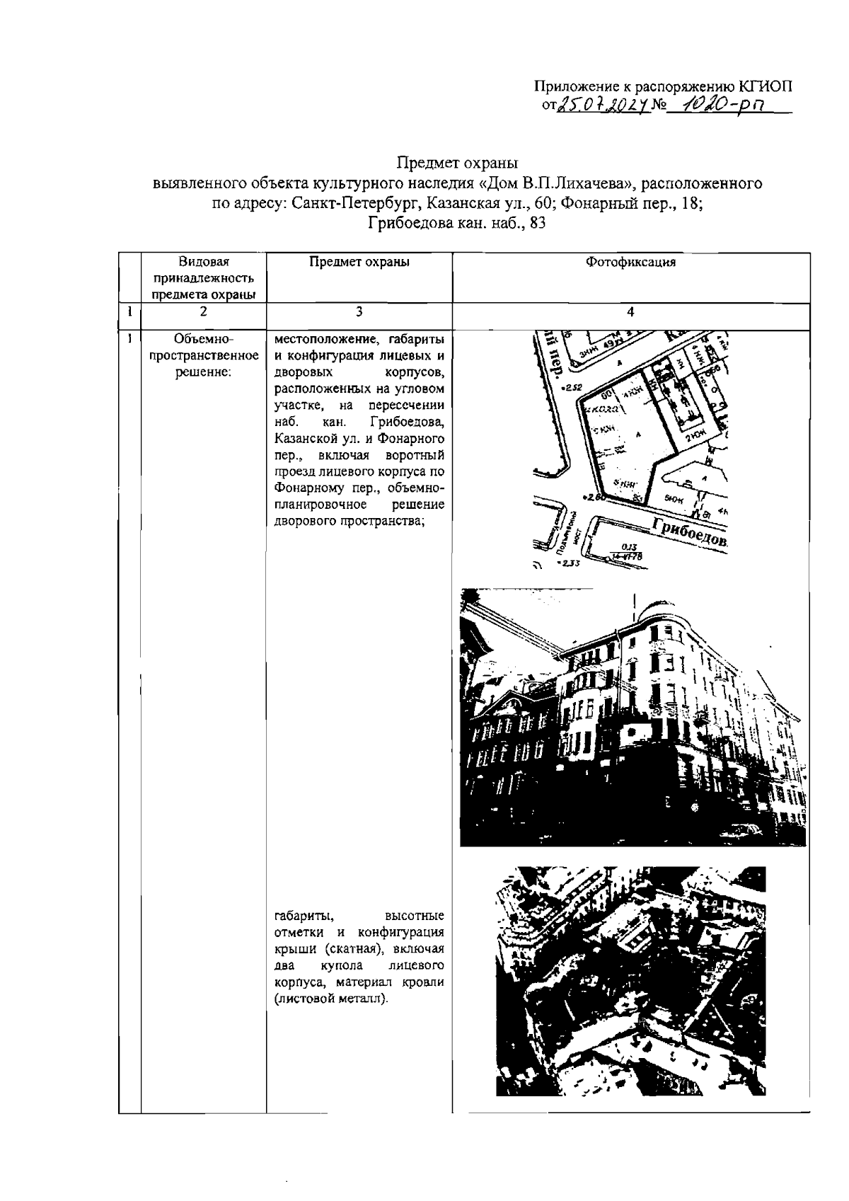
Распоряжение Комитета по государственному контролю, использованию и охране памятников истории и культуры от 25.07.2024 № 1020-рп
"Об утверждении предмета охраны выявленного объекта культурного наследия "Дом В.П.Лихачева"
(Зарегистрирован 25.07.2024 № 48548)
Номер опубликования: 7801202407310001
Дата опубликования: 31.07.2024
Страница №2 из 16:
Увеличить