Официальное опубликование правовых актов
ОФИЦИАЛЬНОЕ ОПУБЛИКОВАНИЕ
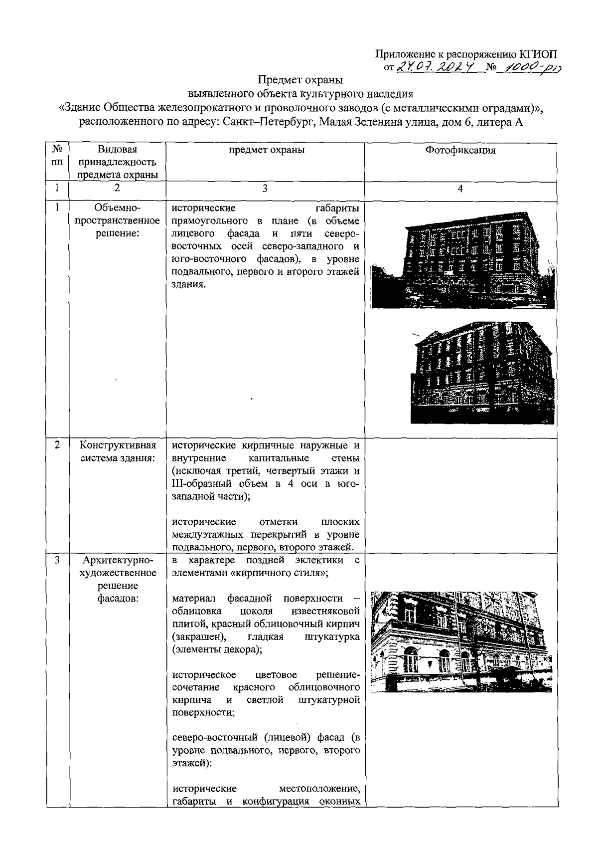
Распоряжение Комитета по государственному контролю, использованию и охране памятников истории и культуры Санкт-Петербурга от 24.07.2024 № 1000-рп
"Об утверждении предмета охраны выявленного объекта культурного наследия "Здание Общества железопрокатного и проволочного заводов (с металлическими оградами)"
(Зарегистрирован 24.07.2024 № 48517)
Номер опубликования: 7801202407260026
Дата опубликования: 26.07.2024
Страница №2 из 4:
Увеличить