Официальное опубликование правовых актов
ОФИЦИАЛЬНОЕ ОПУБЛИКОВАНИЕ
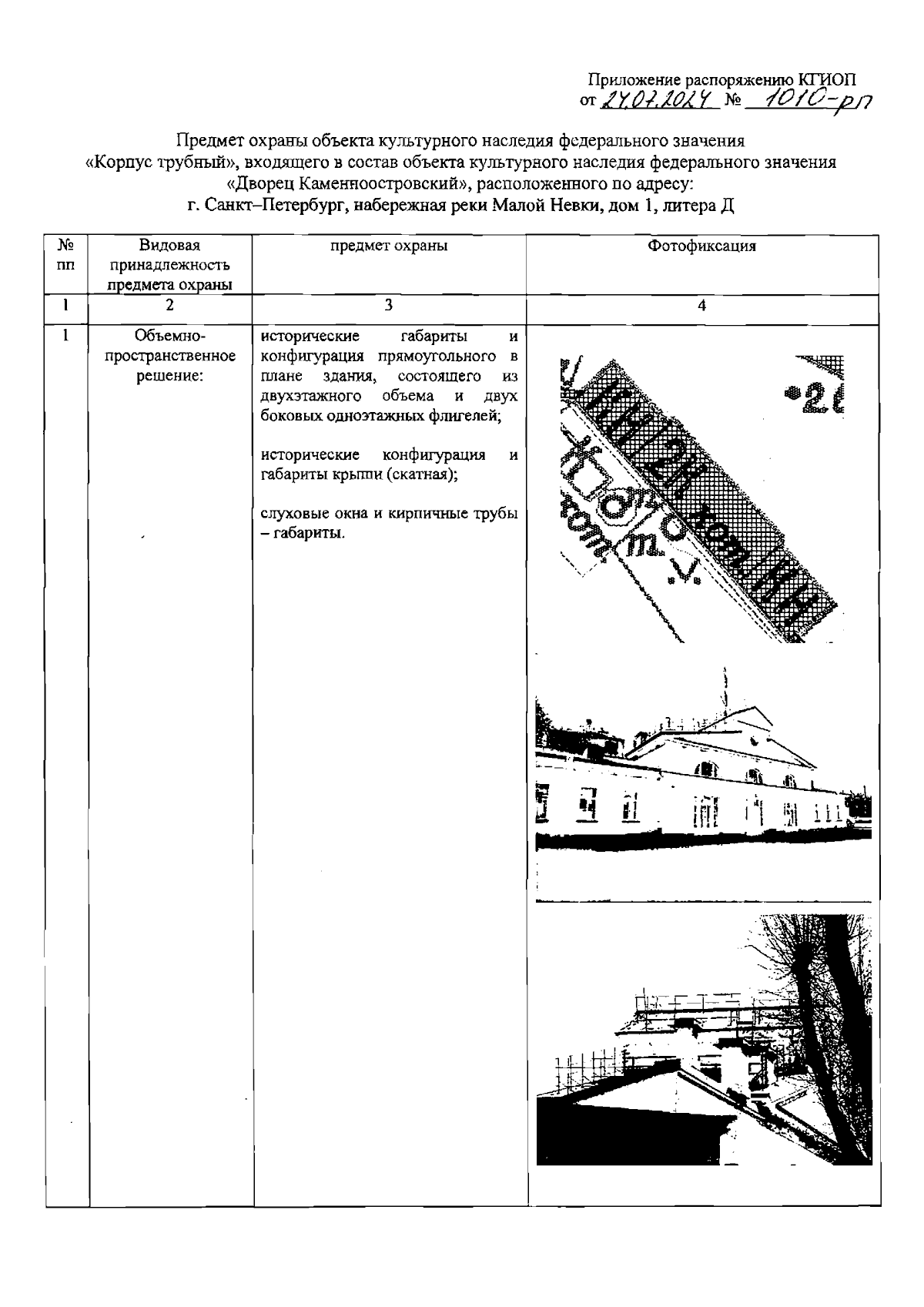
Распоряжение Комитета по государственному контролю, использованию и охране памятников истории и культуры Санкт-Петербурга от 24.07.2024 № 1010-рп
"Об утверждении предмета охраны объекта культурного наследия федерального значения "Корпус трубный", входящего в состав объекта культурного наследия федерального значения "Дворец Каменноостровский"
(Зарегистрирован 24.07.2024 № 48527)
Номер опубликования: 7801202407260023
Дата опубликования: 26.07.2024
Страница №2 из 3:
Увеличить