Официальное опубликование правовых актов
ОФИЦИАЛЬНОЕ ОПУБЛИКОВАНИЕ
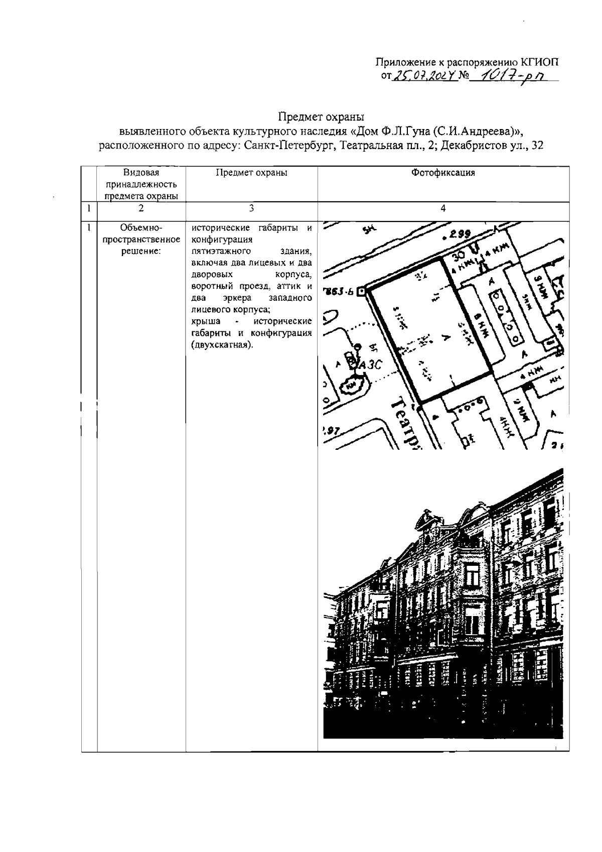
Распоряжение Комитета по государственному контролю, использованию и охране памятников истории и культуры Санкт-Петербурга от 25.07.2024 № 1017-рп
"Об утверждении предмета охраны выявленного объекта культурного наследия "Дом Ф.Л.Гуна (С.И.Андреева)"
(Зарегистрирован 25.07.2024 № 48545)
Номер опубликования: 7801202407260021
Дата опубликования: 26.07.2024
Страница №2 из 12:
Увеличить