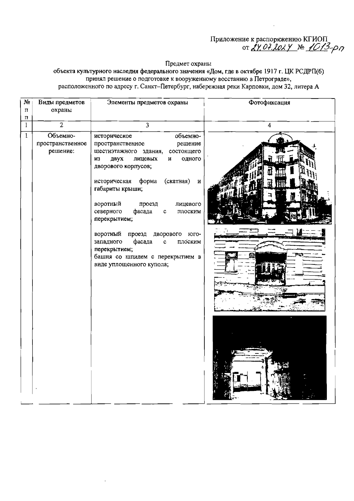
Распоряжение Комитета по государственному контролю, использованию и охране памятников истории и культуры Санкт-Петербурга от 24.07.2024 № 1013-рп
"Об утверждении предмета охраны объекта культурного наследия федерального значения "Дом, где в октябре 1917 г. ЦК РСДРП(б) принял решение о подготовке к вооруженному восстанию в Петрограде"
(Зарегистрирован 25.07.2024 № 48532)
"Об утверждении предмета охраны объекта культурного наследия федерального значения "Дом, где в октябре 1917 г. ЦК РСДРП(б) принял решение о подготовке к вооруженному восстанию в Петрограде"
(Зарегистрирован 25.07.2024 № 48532)
Номер опубликования: 7801202407260017
Дата опубликования:
26.07.2024
