Официальное опубликование правовых актов
ОФИЦИАЛЬНОЕ ОПУБЛИКОВАНИЕ
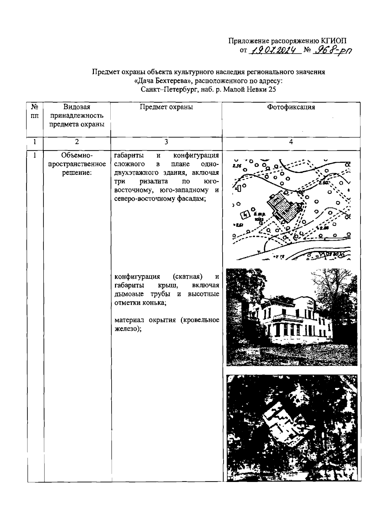
Распоряжение Комитета по государственному контролю, использованию и охране памятников истории и культуры Санкт-Петербурга от 19.07.2024 № 968-рп
"Об утверждении предмета охраны объекта культурного наследия регионального значения "Дача Бехтерева"
(Зарегистрирован 23.07.2024 № 48485)
Номер опубликования: 7801202407250028
Дата опубликования: 25.07.2024
Страница №2 из 10:
Увеличить