Официальное опубликование правовых актов
ОФИЦИАЛЬНОЕ ОПУБЛИКОВАНИЕ
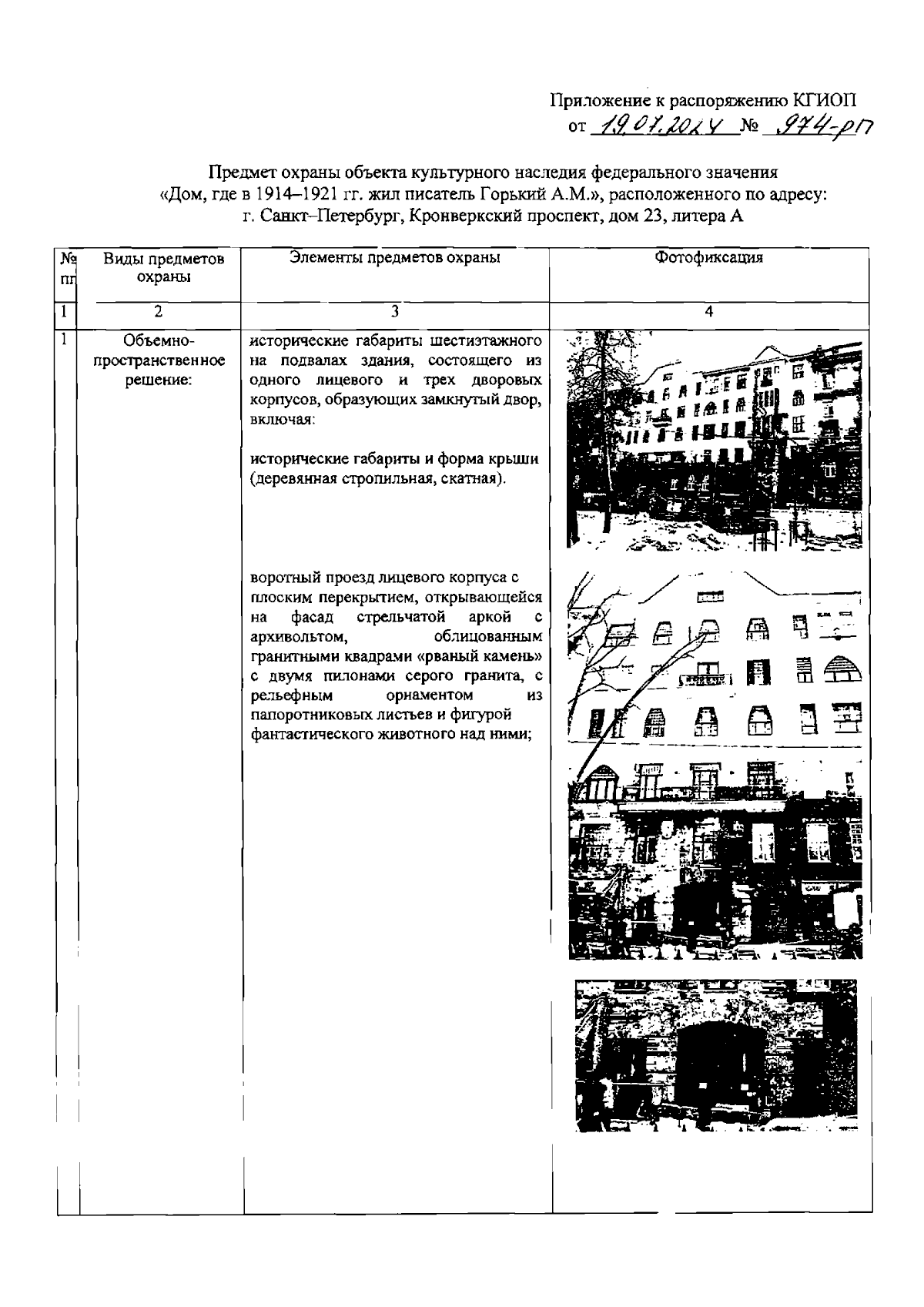
Распоряжение Комитета по государственному контролю, использованию и охране памятников истории и культуры Санкт-Петербурга от 19.07.2024 № 974-рп
"Об утверждении предмета охраны объекта культурного наследия федерального значения "Дом, где в 1914-1921 гг. жил писатель Горький А.М."
(Зарегистрирован 22.07.2024 № 48473)
Номер опубликования: 7801202407250007
Дата опубликования: 25.07.2024
Страница №2 из 17:
Увеличить