Официальное опубликование правовых актов
ОФИЦИАЛЬНОЕ ОПУБЛИКОВАНИЕ
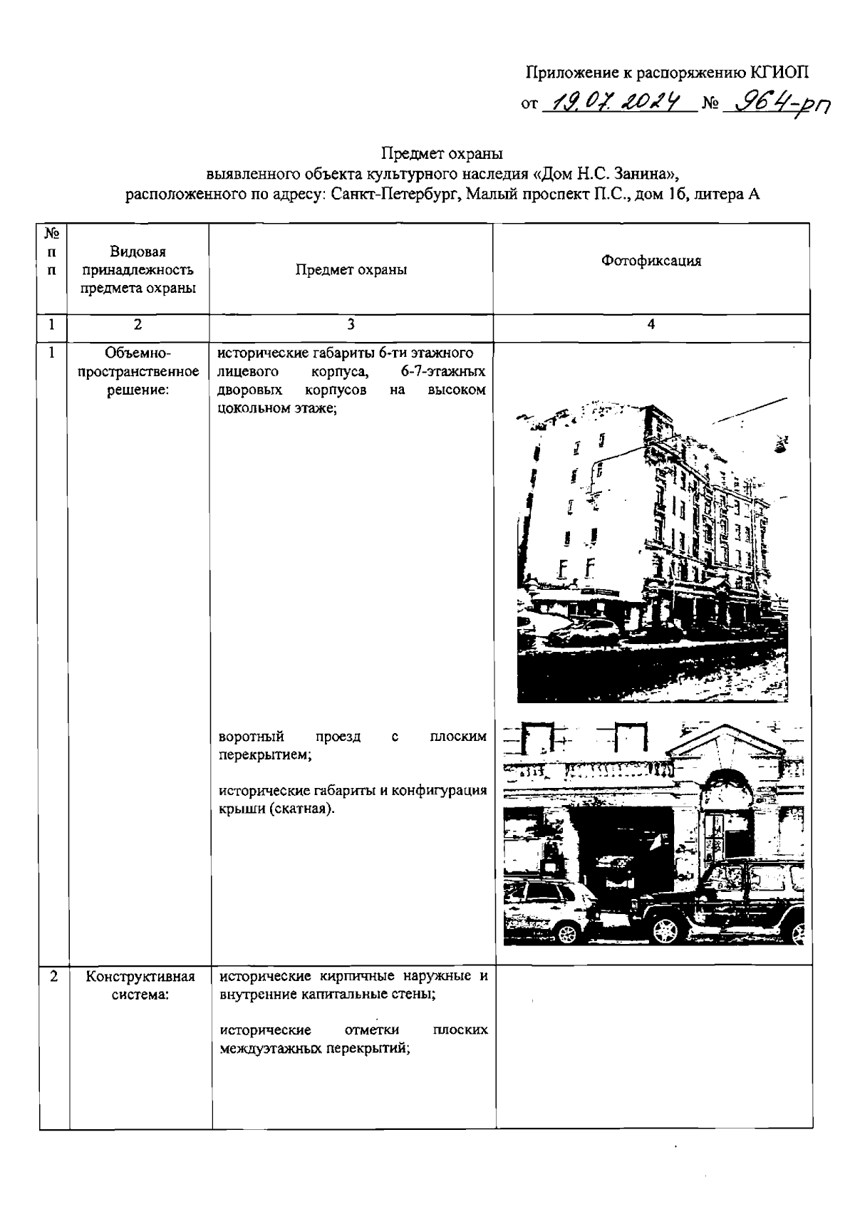
Распоряжение Комитета по государственному контролю, использованию и охране памятников истории и культуры Санкт-Петербурга от 19.07.2024 № 964-рп
"Об утверждении предмета охраны выявленного объекта культурного наследия "Дом Н.С. Занина"
(Зарегистрирован 19.07.2024 № 48465)
Номер опубликования: 7801202407240009
Дата опубликования: 24.07.2024
Страница №2 из 10:
Увеличить