Официальное опубликование правовых актов
ОФИЦИАЛЬНОЕ ОПУБЛИКОВАНИЕ
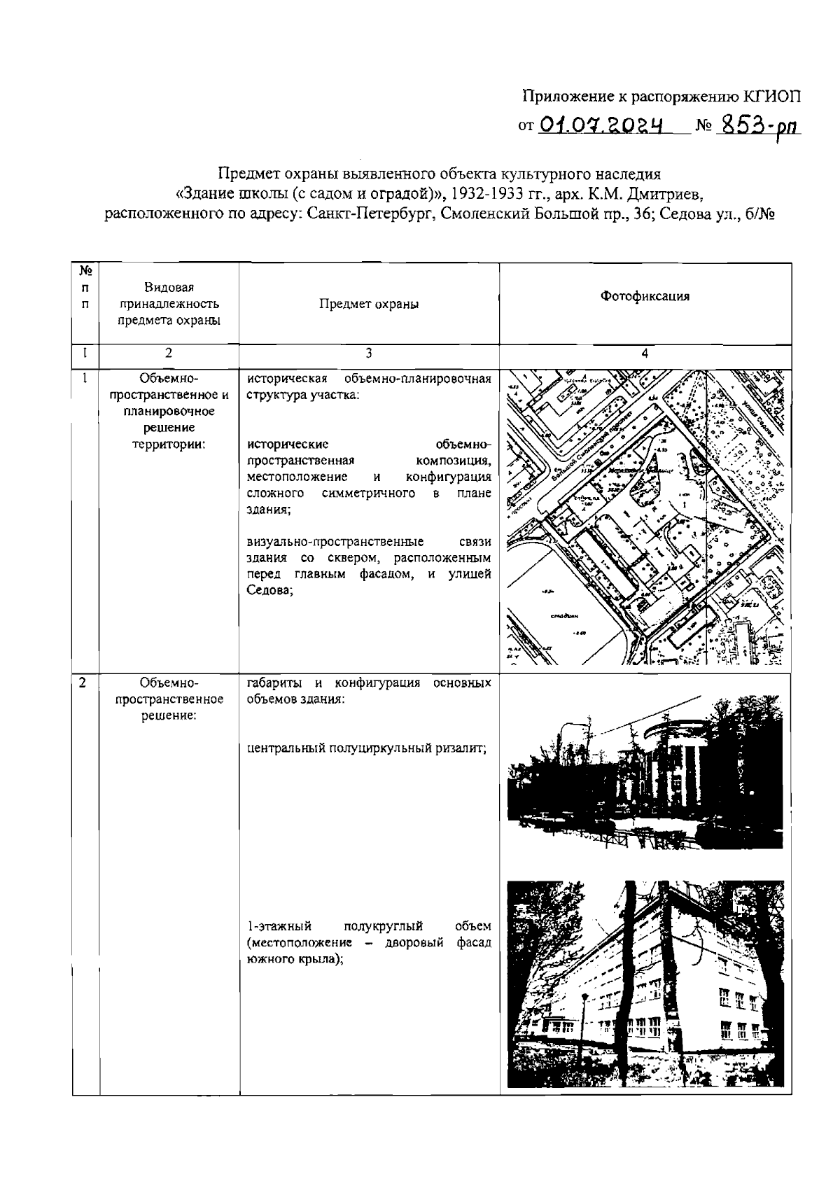
Распоряжение Комитета по государственному контролю, использованию и охране памятников истории и культуры Санкт-Петербурга от 01.07.2024 № 853-рп
"Об утверждении предмета охраны выявленного объекта культурного наследия "Здание школы (с садом и оградой)"
(Зарегистрирован 02.07.2024 № 48281)
Номер опубликования: 7801202407050005
Дата опубликования: 05.07.2024
Страница №2 из 11:
Увеличить