Официальное опубликование правовых актов
ОФИЦИАЛЬНОЕ ОПУБЛИКОВАНИЕ
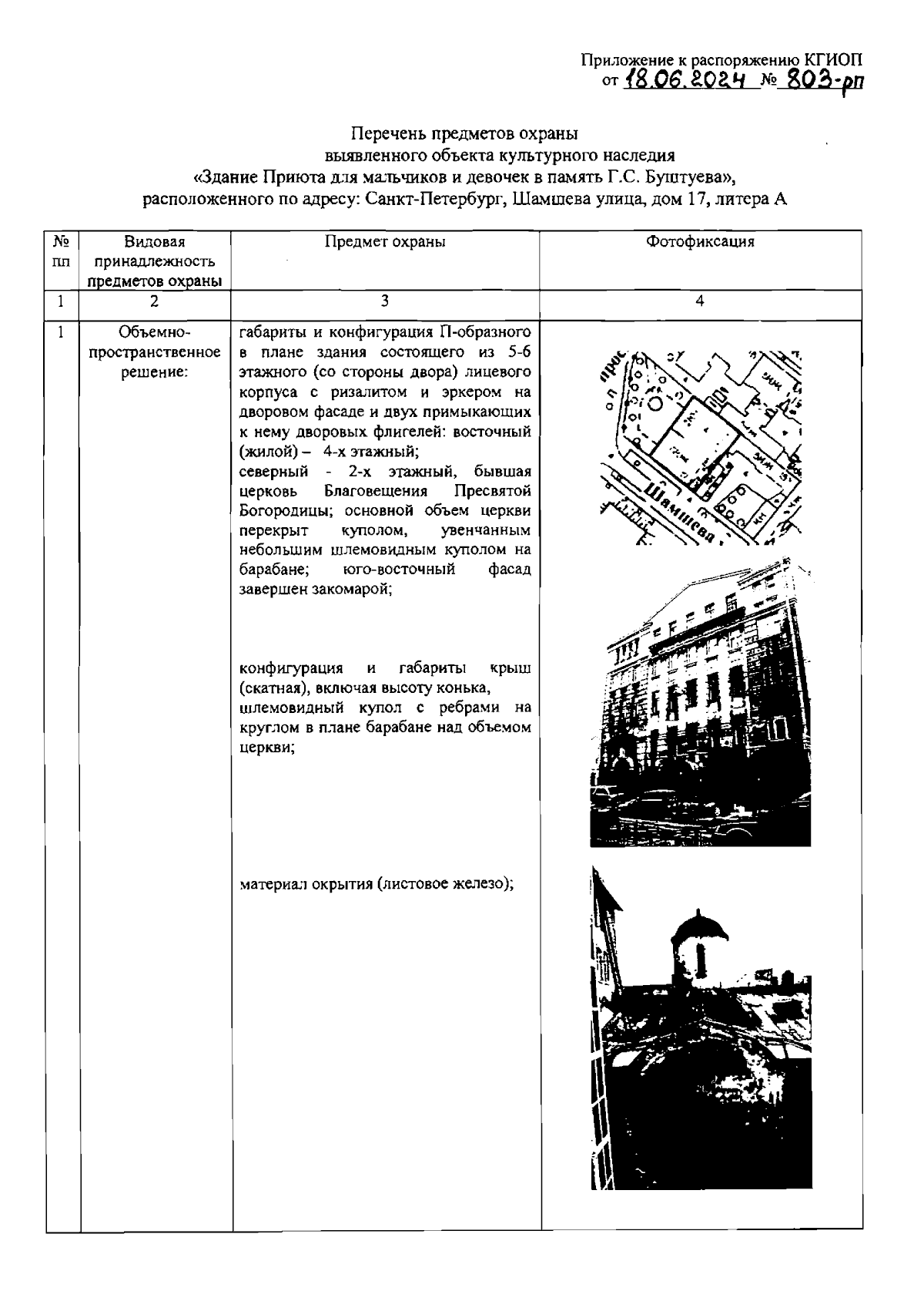
Распоряжение Комитета по государственному контролю, использованию и охране памятников истории и культуры Санкт-Петербурга от 18.06.2024 № 803-рп
"Об утверждении предмета охраны выявленного объекта культурного наследия "Здание Приюта для мальчиков и девочек в память Г.С. Буштуева"
(Зарегистрирован 19.06.2024 № 48157)
Номер опубликования: 7801202406240042
Дата опубликования: 24.06.2024
Страница №2 из 9:
Увеличить