Официальное опубликование правовых актов
ОФИЦИАЛЬНОЕ ОПУБЛИКОВАНИЕ
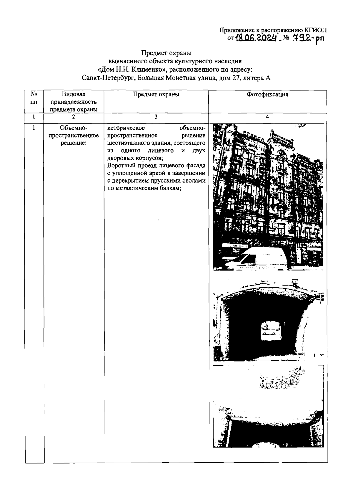
Распоряжение Комитета по государственному контролю, использованию и охране памятников истории и культуры Санкт-Петербурга от 18.06.2024 № 792-рп
"Об утверждении предмета охраны выявленного объекта культурного наследия "Дом Н.Н. Клименко"
(Зарегистрирован 18.06.2024 № 48152)
Номер опубликования: 7801202406200035
Дата опубликования: 20.06.2024
Страница №2 из 5:
Увеличить