Официальное опубликование правовых актов
ОФИЦИАЛЬНОЕ ОПУБЛИКОВАНИЕ
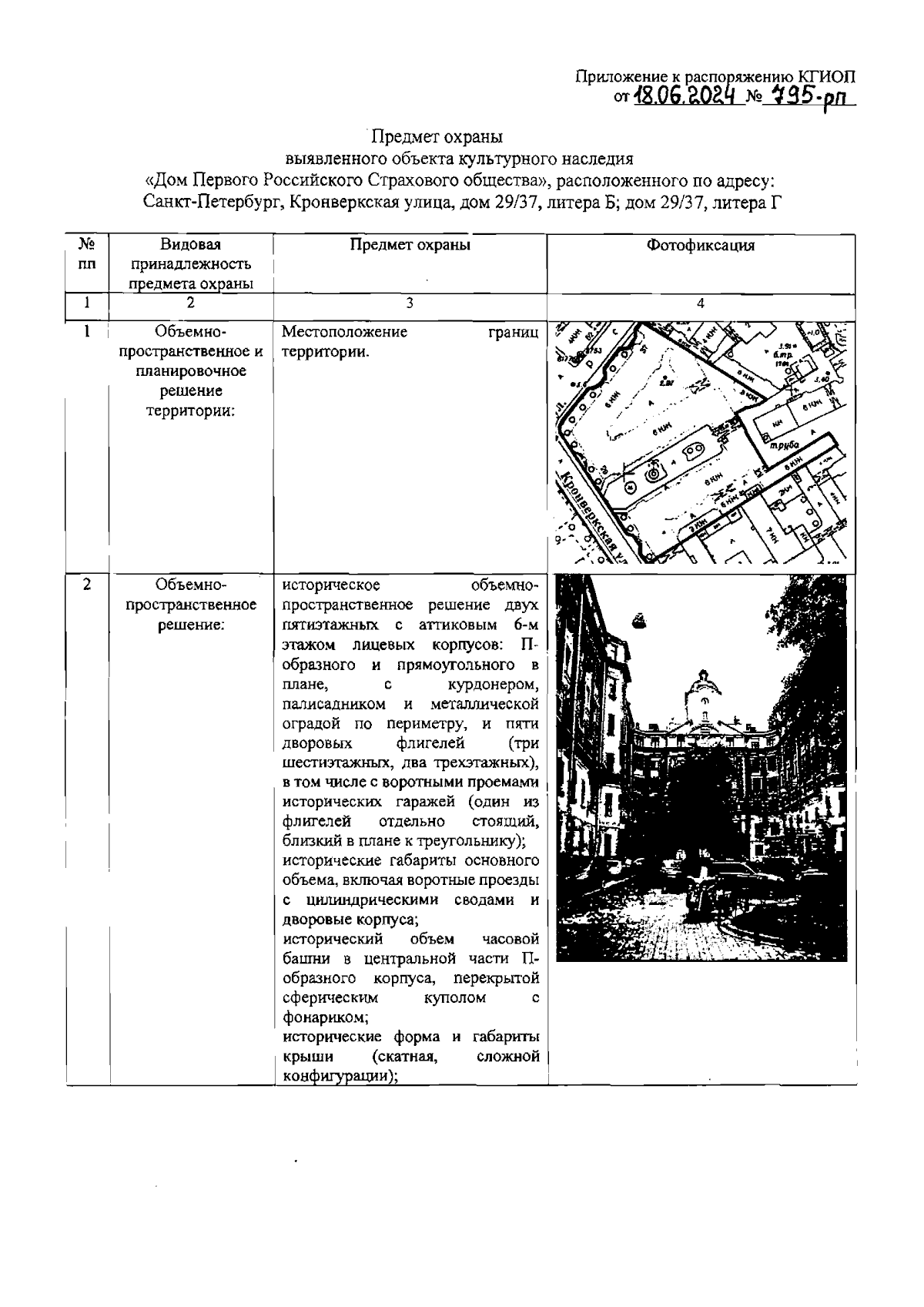
Распоряжение Комитета по государственному контролю, использованию и охране памятников истории и культуры Санкт-Петербурга от 18.06.2024 № 795-рп
"Об утверждении предмета охраны выявленного объекта культурного наследия "Дом Первого Российского Страхового общества"
(Зарегистрирован 18.06.2024 № 48155)
Номер опубликования: 7801202406200033
Дата опубликования: 20.06.2024
Страница №2 из 14:
Увеличить