Официальное опубликование правовых актов
ОФИЦИАЛЬНОЕ ОПУБЛИКОВАНИЕ
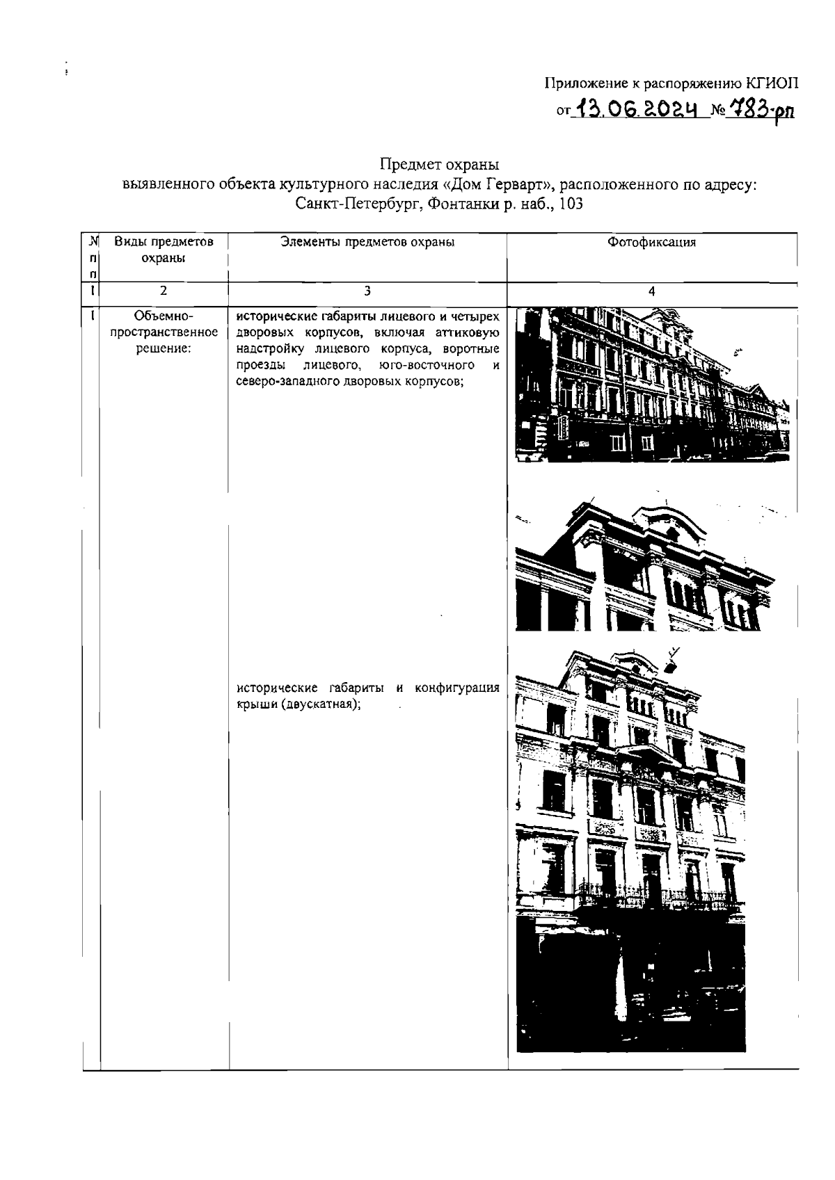
Распоряжение Комитета по государственному контролю, использованию и охране памятников истории и культуры Санкт-Петербурга от 13.06.2024 № 783-рп
"Об утверждении предмета охраны выявленного объекта культурного наследия "Дом Герварт"
(Зарегистрирован 17.06.2024 № 48131)
Номер опубликования: 7801202406200015
Дата опубликования: 20.06.2024
Страница №2 из 12:
Увеличить