Официальное опубликование правовых актов
ОФИЦИАЛЬНОЕ ОПУБЛИКОВАНИЕ
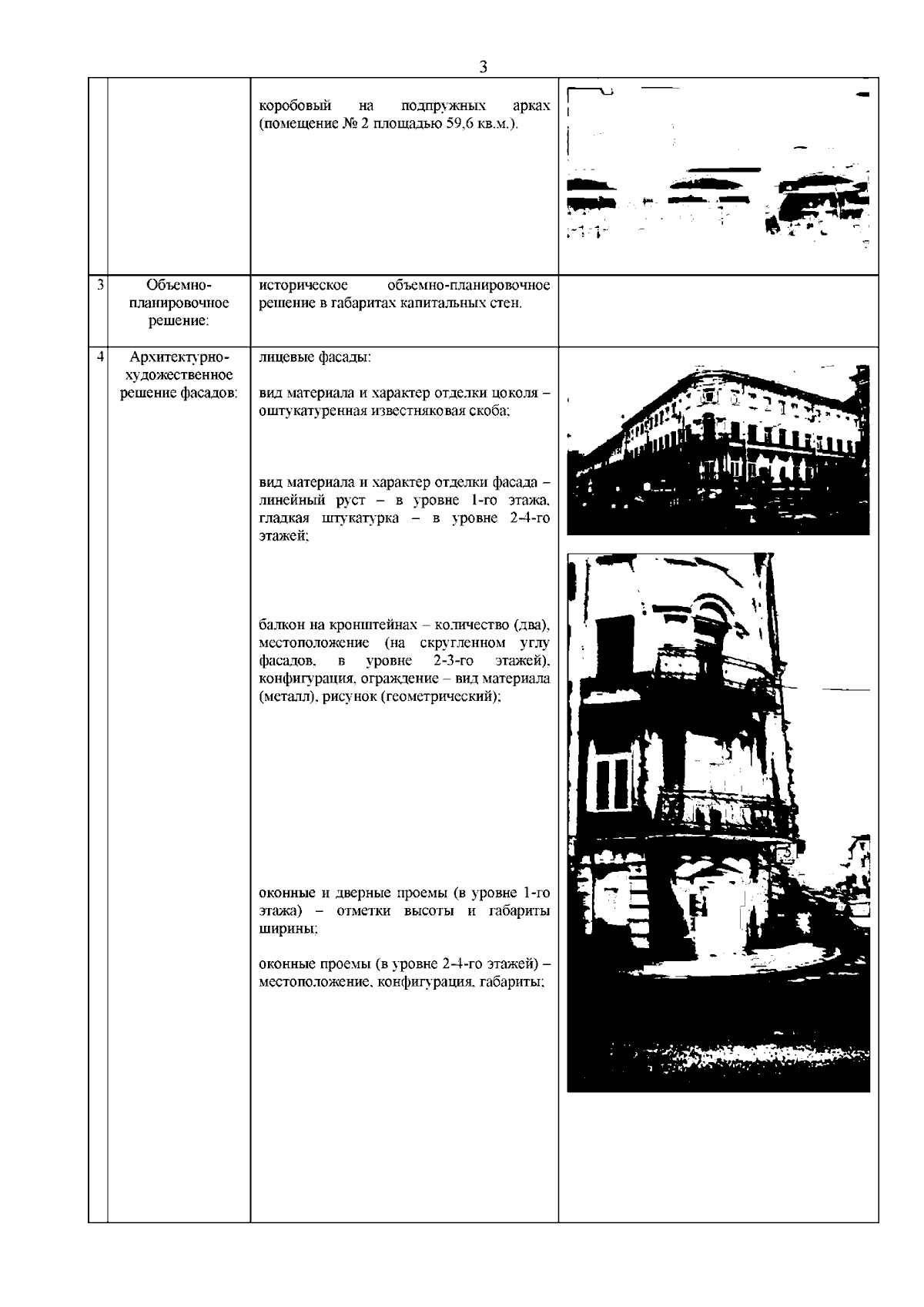
Распоряжение Комитета по государственному контролю, использованию и охране памятников истории и культуры Санкт-Петербурга от 13.06.2024 № 778-рп
"Об утверждении предмета охраны выявленного объекта культурного наследия "Дом Артемьевых"
(Зарегистрирован 17.06.2024 № 48121)
Номер опубликования: 7801202406200010
Дата опубликования: 20.06.2024
Страница №4 из 6:
Увеличить