Распоряжение Комитета по государственному контролю, использованию и охране памятников истории и культуры Санкт-Петербурга от 13.06.2024 № 777-рп
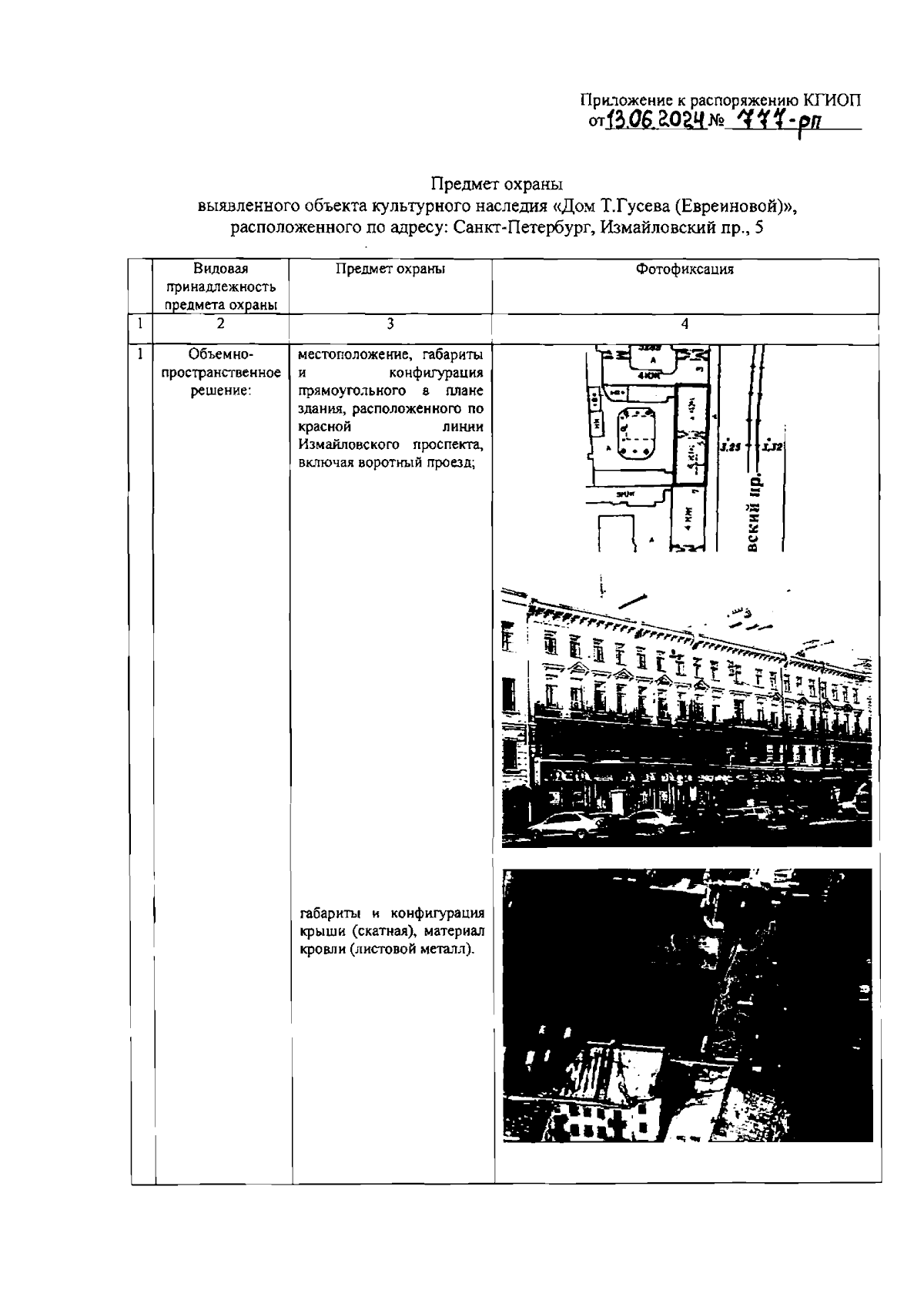
"Об утверждении предмета охраны выявленного объекта культурного наследия "Дом Т.Гусева (Евреиновой)"
(Зарегистрирован 17.06.2024 № 48120)
"Об утверждении предмета охраны выявленного объекта культурного наследия "Дом Т.Гусева (Евреиновой)"
(Зарегистрирован 17.06.2024 № 48120)
Номер опубликования: 7801202406200007
Дата опубликования:
20.06.2024
