Официальное опубликование правовых актов
ОФИЦИАЛЬНОЕ ОПУБЛИКОВАНИЕ
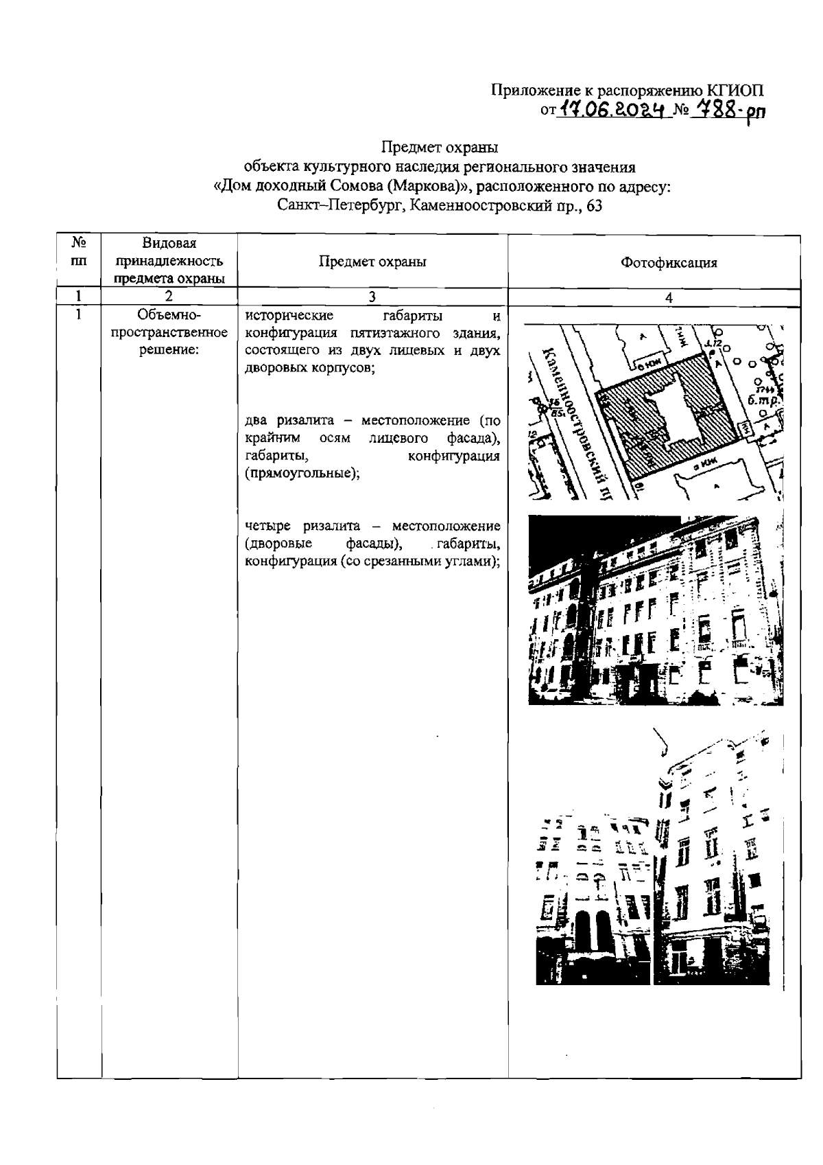
Распоряжение Комитета по государственному контролю, использованию и охране памятников истории и культуры Санкт-Петербурга от 17.06.2024 № 788-рп
"Об утверждении предмета охраны объекта культурного наследия регионального значения "Дом доходный Сомова (Маркова)"
(Зарегистрирован 18.06.2024 № 48146)
Номер опубликования: 7801202406200006
Дата опубликования: 20.06.2024
Страница №2 из 20:
Увеличить