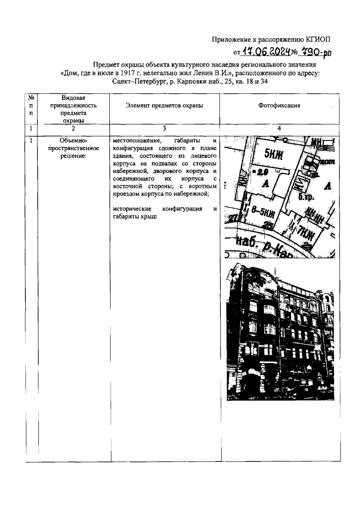
Распоряжение Комитета по государственному контролю, использованию и охране памятников истории и культуры Санкт-Петербурга от 17.06.2024 № 790-рп
"Об утверждении предмета охраны объекта культурного наследия регионального значения "Дом, где в июле в 1917 г. нелегально жил Ленин В.И."
(Зарегистрирован 18.06.2024 № 48144)
"Об утверждении предмета охраны объекта культурного наследия регионального значения "Дом, где в июле в 1917 г. нелегально жил Ленин В.И."
(Зарегистрирован 18.06.2024 № 48144)
Номер опубликования: 7801202406200002
Дата опубликования:
20.06.2024
