Официальное опубликование правовых актов
ОФИЦИАЛЬНОЕ ОПУБЛИКОВАНИЕ
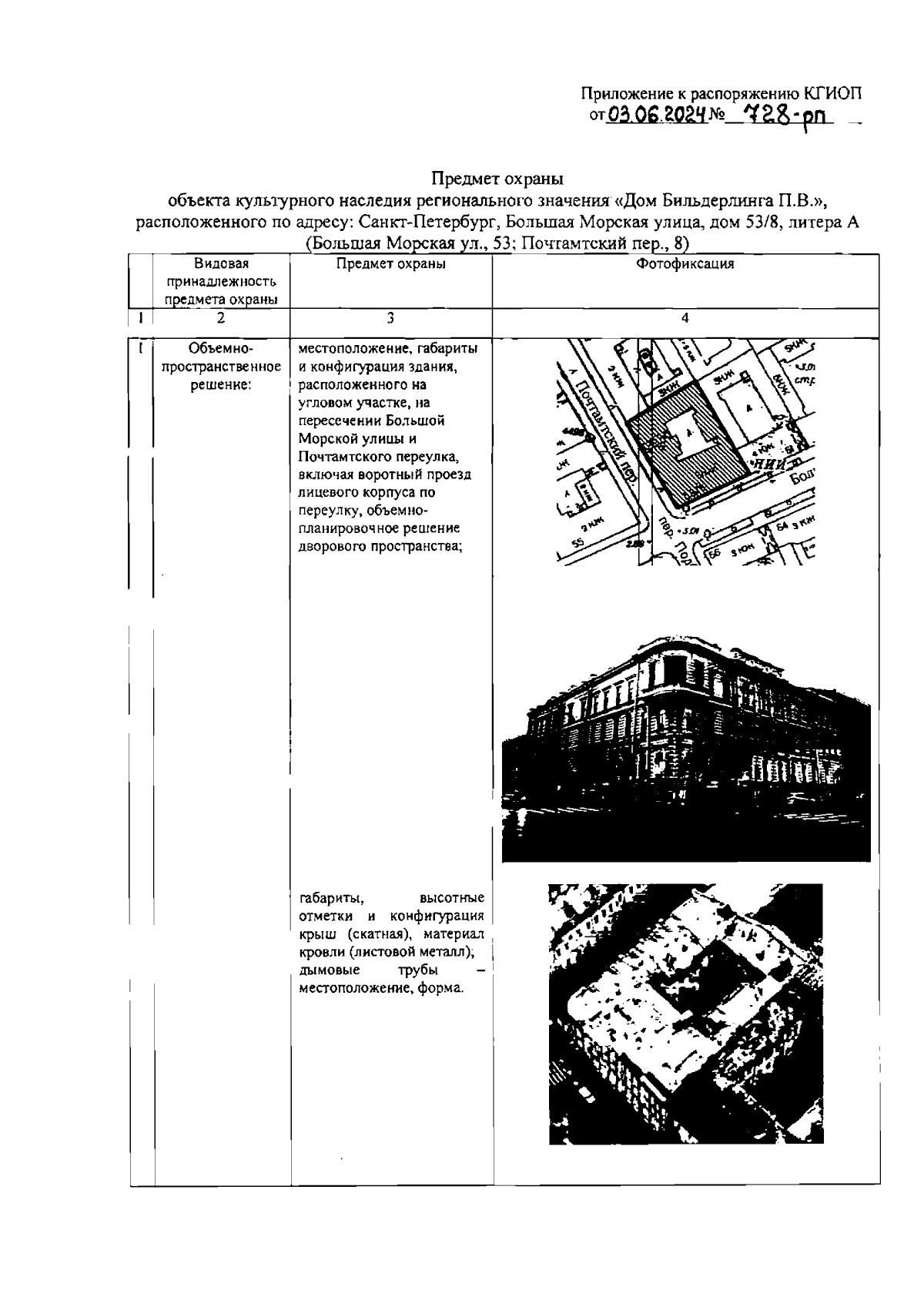
Распоряжение Комитета по государственному контролю, использованию и охране памятников истории и культуры Санкт-Петербурга от 03.06.2024 № 728-рп
"Об утверждении предмета охраны объекта культурного наследия регионального значения "Дом Бильдерлинга П.В."
(Зарегистрирован 04.06.2024 № 48009)
Номер опубликования: 7801202406070021
Дата опубликования: 07.06.2024
Страница №2 из 68:
Увеличить