Официальное опубликование правовых актов
ОФИЦИАЛЬНОЕ ОПУБЛИКОВАНИЕ
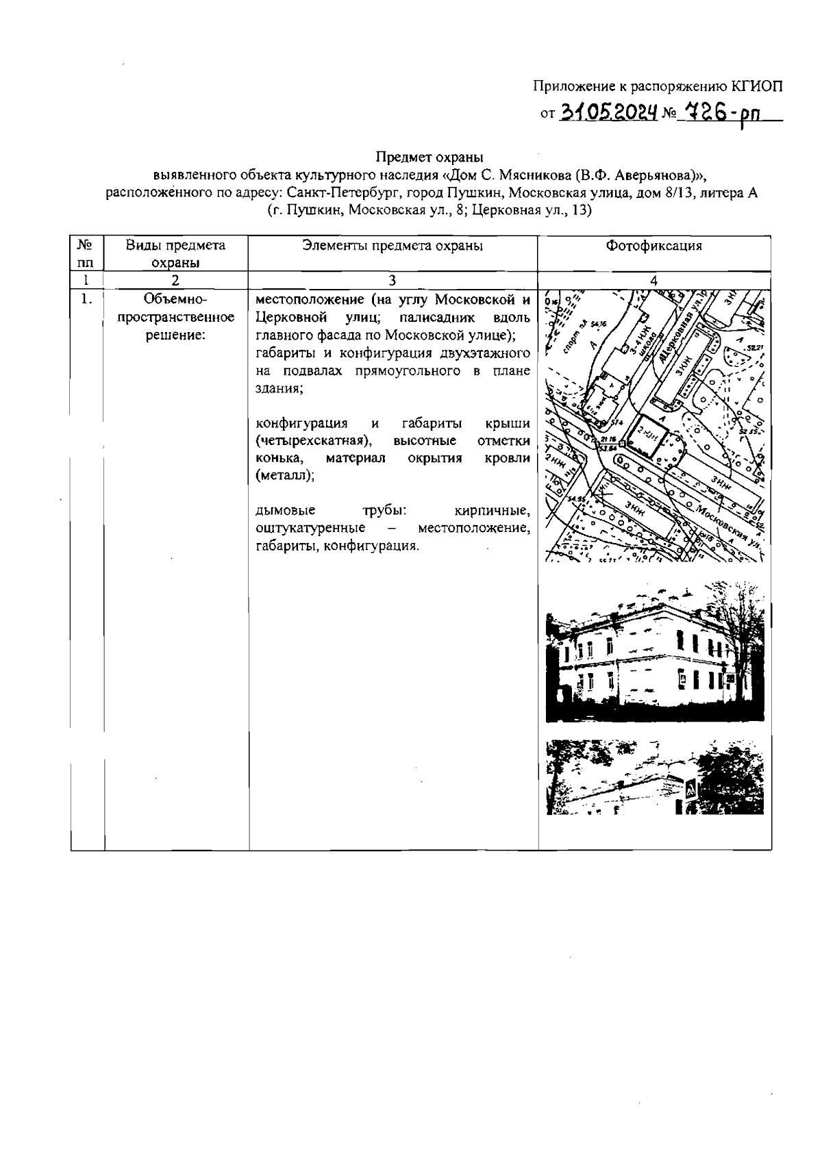
Распоряжение Комитета по государственному контролю, использованию и охране памятников истории и культуры Санкт-Петербурга от 31.05.2024 № 726-рп
"Об утверждении предмета охраны выявленного объекта культурного наследия "Дом С. Мясникова (В.Ф. Аверьянова)"
(Зарегистрирован 03.06.2024 № 48002)
Номер опубликования: 7801202406070009
Дата опубликования: 07.06.2024
Страница №2 из 6:
Увеличить