Официальное опубликование правовых актов
ОФИЦИАЛЬНОЕ ОПУБЛИКОВАНИЕ
Распоряжение Комитета по государственному контролю, использованию и охране памятников истории и культуры Санкт-Петербурга от 29.05.2024 № 691-рп
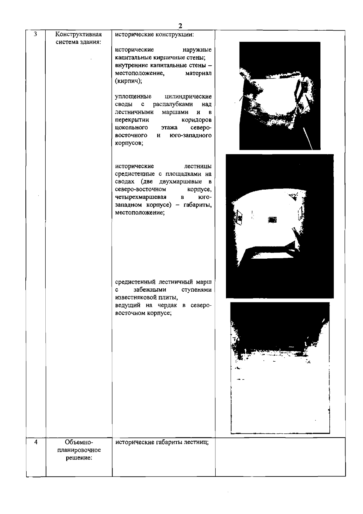
"Об утверждении предмета охраны объекта культурного наследия регионального значения "Пожарная часть с палисадником"
(Зарегистрирован 30.05.2024 № 47951)
Номер опубликования: 7801202406050011
Дата опубликования: 05.06.2024
Страница №3 из 5:
Увеличить