Официальное опубликование правовых актов
ОФИЦИАЛЬНОЕ ОПУБЛИКОВАНИЕ
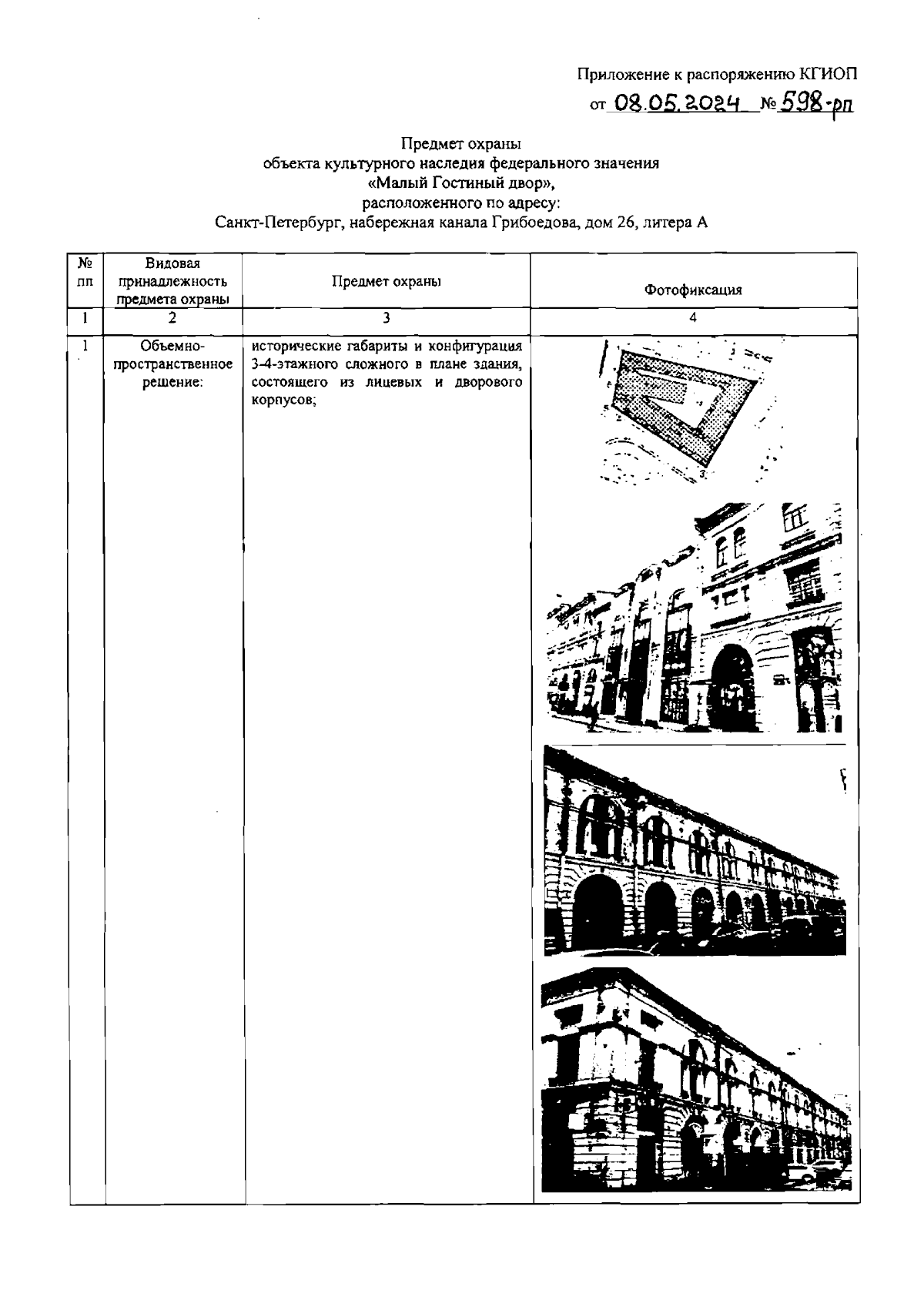
Распоряжение Комитета по государственному контролю, использованию и охране памятников истории и культуры Санкт-Петербурга от 08.05.2024 № 598-рп
"Об утверждении предмета охраны объекта культурного наследия федерального значения "Малый Гостиный двор"
(Зарегистрирован 13.05.2024 № 47763)
Номер опубликования: 7801202405150022
Дата опубликования: 15.05.2024
Страница №2 из 17:
Увеличить