Официальное опубликование правовых актов
ОФИЦИАЛЬНОЕ ОПУБЛИКОВАНИЕ
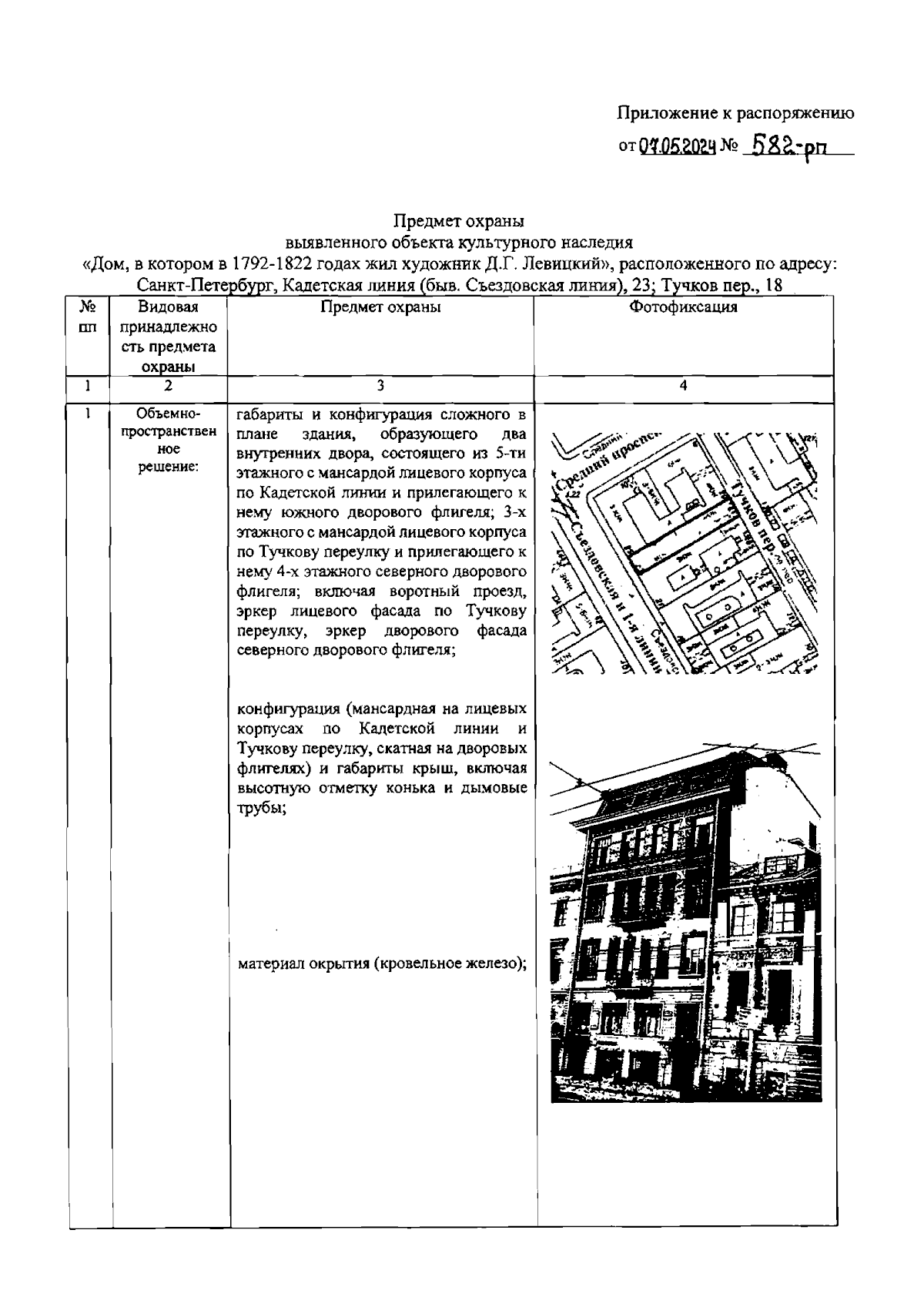
Распоряжение Комитета по государственному контролю, использованию и охране памятников истории и культуры Санкт-Петербурга от 07.05.2024 № 582-рп
"Об утверждении предмета охраны выявленного объекта культурного наследия "Дом, в котором в 1792-1822 годах жил художник Д.Г. Левицкий"
(Зарегистрирован 08.05.2024 № 47749)
Номер опубликования: 7801202405140008
Дата опубликования: 14.05.2024
Страница №2 из 9:
Увеличить