Официальное опубликование правовых актов
ОФИЦИАЛЬНОЕ ОПУБЛИКОВАНИЕ
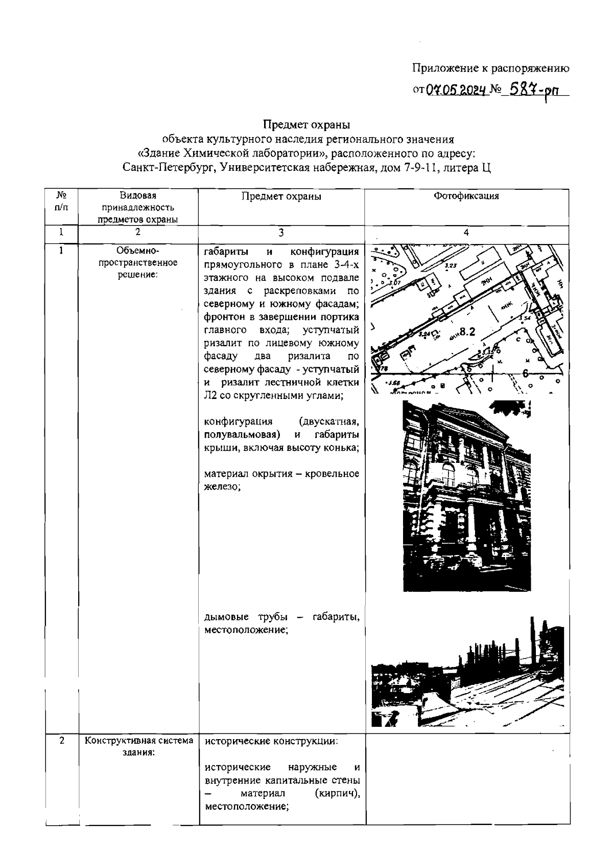
Распоряжение Комитета по государственному контролю, использованию и охране памятников истории и культуры Санкт-Петербурга от 07.05.2024 № 587-рп
"Об утверждении предмета охраны объекта культурного наследия регионального значения "Здание Химической лаборатории"
(Зарегистрирован 08.05.2024 № 47754)
Номер опубликования: 7801202405130001
Дата опубликования: 13.05.2024
Страница №2 из 30:
Увеличить