Официальное опубликование правовых актов
ОФИЦИАЛЬНОЕ ОПУБЛИКОВАНИЕ
Распоряжение Комитета по государственному контролю, использованию и охране памятников истории и культуры Санкт-Петербурга от 06.05.2024 № 572-рп
"Об утверждении предмета охраны объекта культурного наследия регионального значения "Дом И.Г. Чернышева (графа А.П. Шувалова) с флигелем, службами и оградой"
(Зарегистрирован 06.05.2024 № 47721)
Номер опубликования: 7801202405080020
Дата опубликования: 08.05.2024
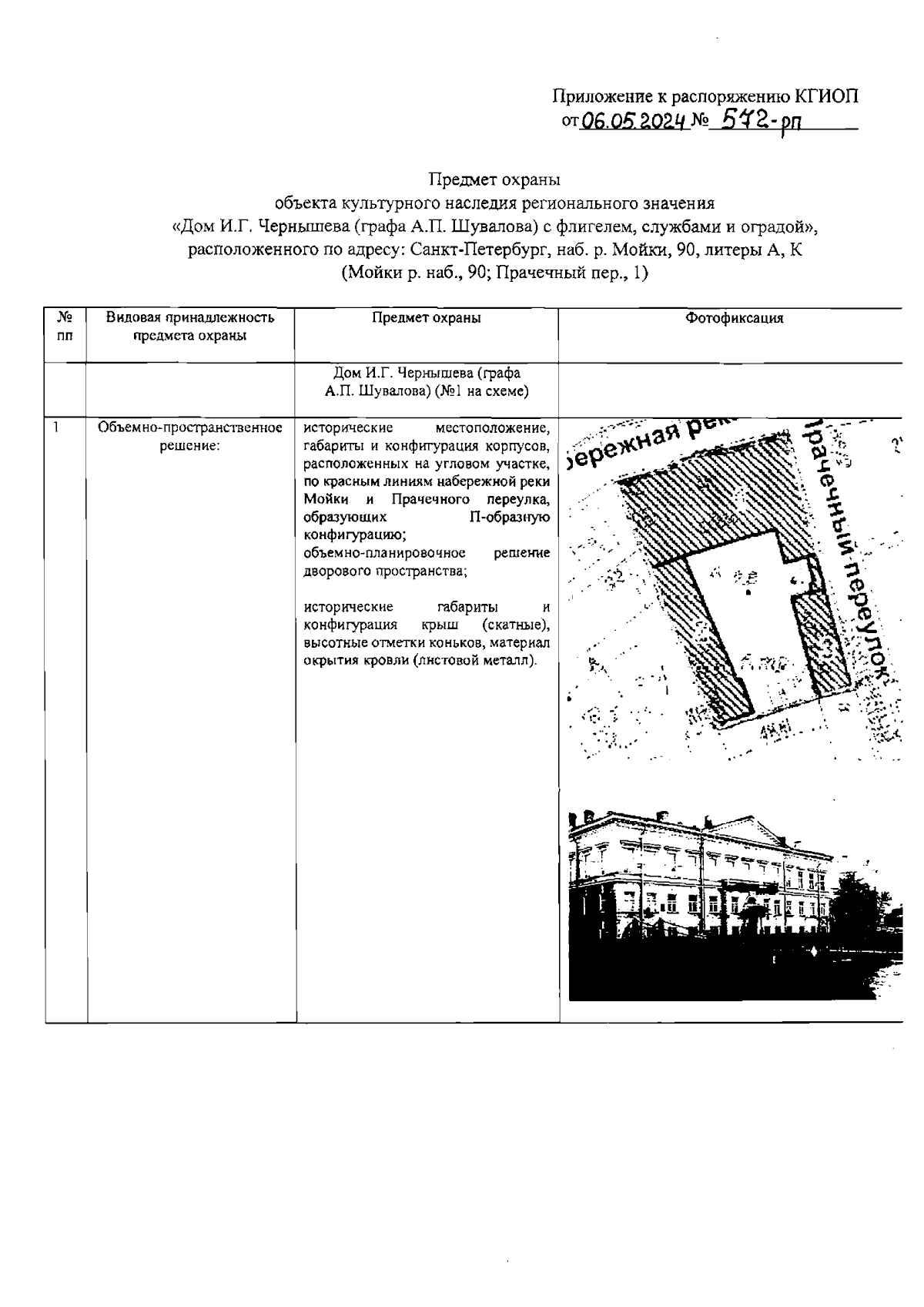
Страница №2 из 32:
Увеличить