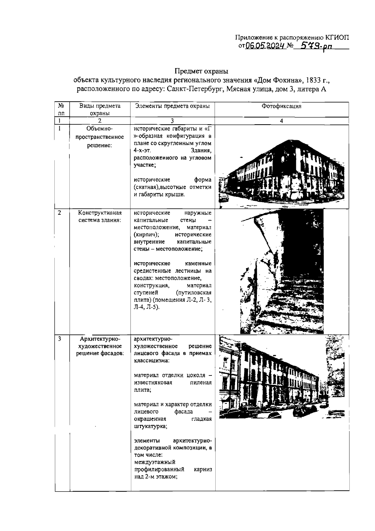
Распоряжение Комитета по государственному контролю, использованию и охране памятников истории и культуры Санкт-Петербурга от 06.05.2024 № 579-рп
"Об утверждении предмета охраны объекта культурного наследия регионального значения "Дом Фокина"
(Зарегистрирован 07.05.2024 № 47728)
"Об утверждении предмета охраны объекта культурного наследия регионального значения "Дом Фокина"
(Зарегистрирован 07.05.2024 № 47728)
Номер опубликования: 7801202405080002
Дата опубликования:
08.05.2024
