Официальное опубликование правовых актов
ОФИЦИАЛЬНОЕ ОПУБЛИКОВАНИЕ
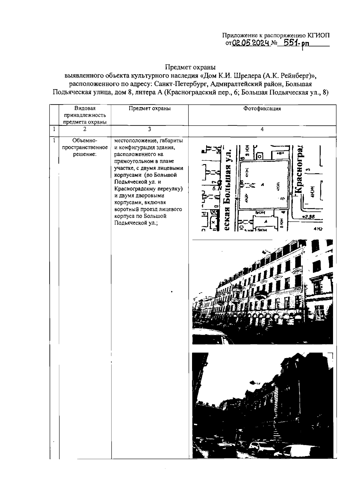
Распоряжение Комитета по государственному контролю, использованию и охране памятников истории и культуры Санкт-Петербурга от 02.05.2024 № 551-рп
"Об утверждении предмета охраны выявленного объекта культурного наследия "Дом К.И.Шредера (А.К.Рейнберг)"
(Зарегистрирован 06.05.2024 № 47696)
Номер опубликования: 7801202405070016
Дата опубликования: 07.05.2024
Страница №2 из 24:
Увеличить