Официальное опубликование правовых актов
ОФИЦИАЛЬНОЕ ОПУБЛИКОВАНИЕ
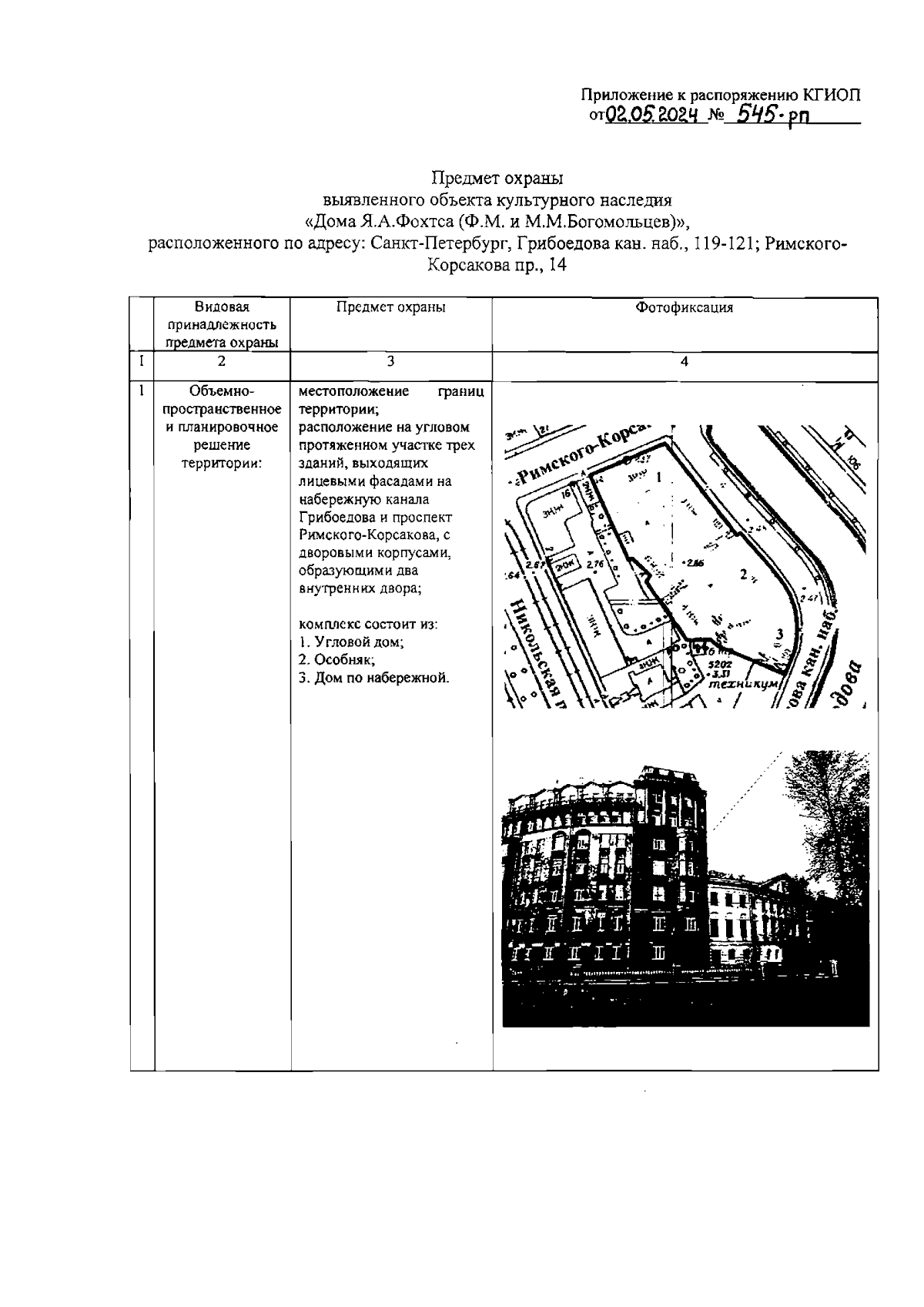
Распоряжение Комитета по государственному контролю, использованию и охране памятников истории и культуры Санкт-Петербурга от 02.05.2024 № 545-рп
"Об утверждении предмета охраны выявленного объекта культурного наследия "Дома Я.А.Фохтса (Ф.М. и М.М.Богомольцев)"
(Зарегистрирован 06.05.2024 № 47690)
Номер опубликования: 7801202405070009
Дата опубликования: 07.05.2024
Страница №2 из 14:
Увеличить