Официальное опубликование правовых актов
ОФИЦИАЛЬНОЕ ОПУБЛИКОВАНИЕ
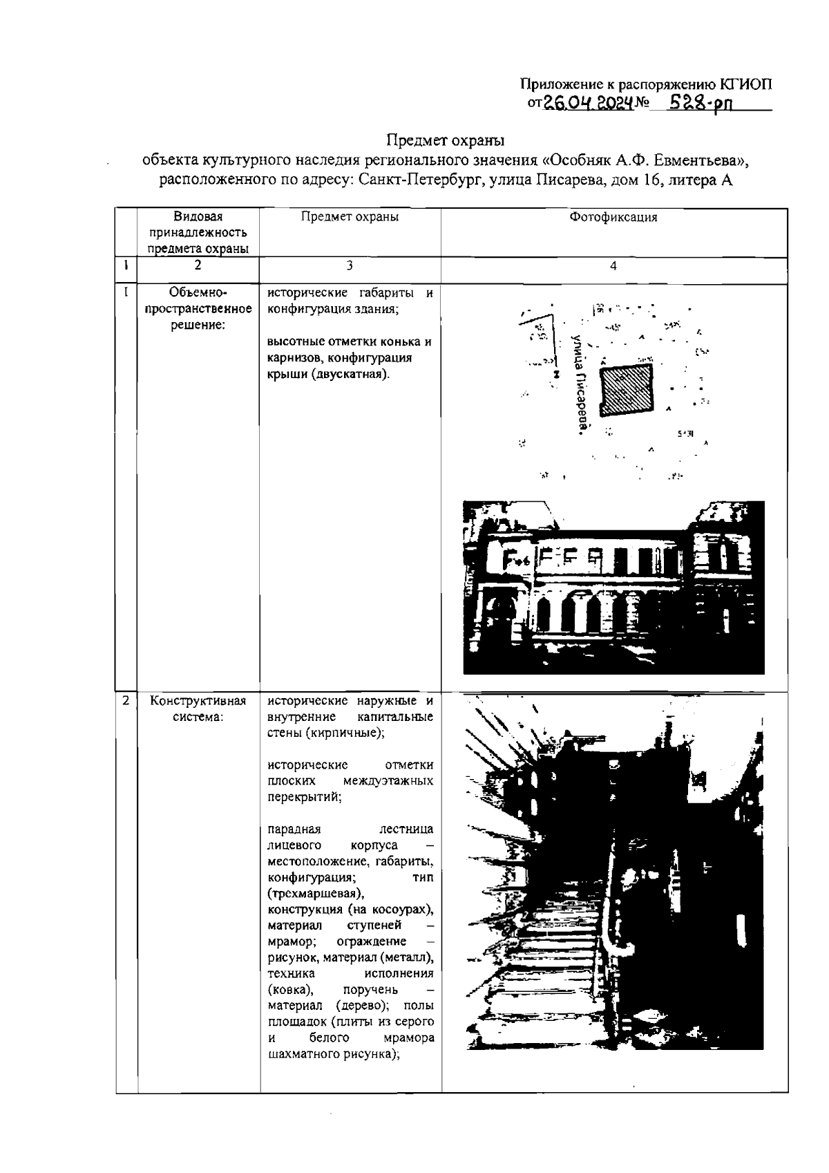
Распоряжение Комитета по государственному контролю, использованию и охране памятников истории и культуры Санкт-Петербурга от 26.04.2024 № 528-рп
"Об утверждении предмета охраны объекта культурного наследия регионального значения "Особняк А.Ф. Евментьева"
(Зарегистрирован 27.04.2024 № 47644)
Номер опубликования: 7801202405020016
Дата опубликования: 02.05.2024
Страница №2 из 10:
Увеличить