Официальное опубликование правовых актов
ОФИЦИАЛЬНОЕ ОПУБЛИКОВАНИЕ
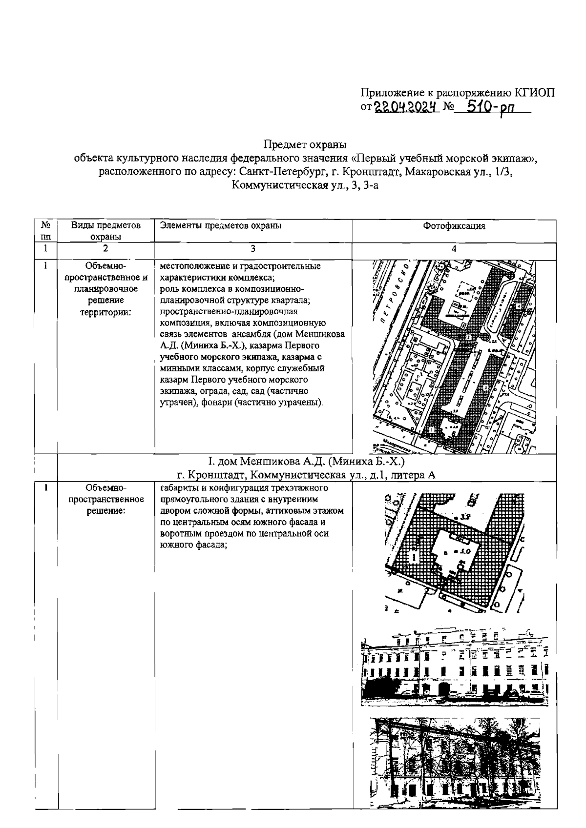
Распоряжение Комитета по государственному контролю, использованию и охране памятников истории и культуры Санкт-Петербурга от 22.04.2024 № 510-рп
"Об утверждении предмета охраны объекта культурного наследия федерального значения "Первый учебный морской экипаж"
(Зарегистрирован 23.04.2024 № 47600)
Номер опубликования: 7801202404270028
Дата опубликования: 27.04.2024
Страница №2 из 24:
Увеличить