Официальное опубликование правовых актов
ОФИЦИАЛЬНОЕ ОПУБЛИКОВАНИЕ
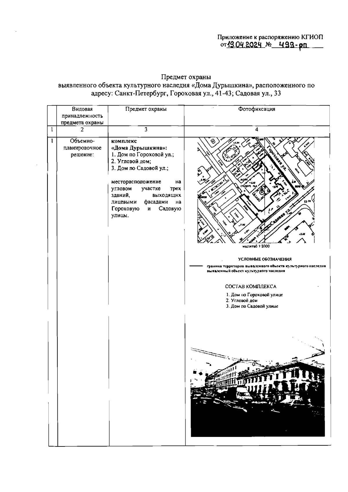
Распоряжение Комитета по государственному контролю, использованию и охране памятников истории и культуры Санкт-Петербурга от 19.04.2024 № 499-рп
"Об утверждении предмета охраны выявленного объекта культурного наследия "Дома Дурышкина"
(Зарегистрирован 19.04.2024 № 47588)
Номер опубликования: 7801202404240006
Дата опубликования: 24.04.2024
Страница №2 из 11:
Увеличить