Официальное опубликование правовых актов
ОФИЦИАЛЬНОЕ ОПУБЛИКОВАНИЕ
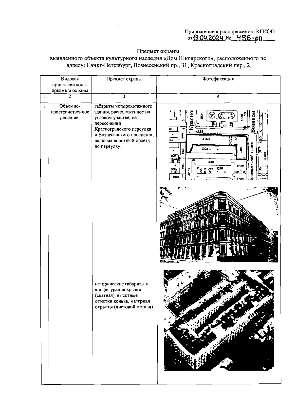
Распоряжение Комитета по государственному контролю, использованию и охране памятников истории и культуры Санкт-Петербурга от 19.04.2024 № 496-рп
"Об утверждении предмета охраны выявленного объекта культурного наследия "Дом Шклярского"
(Зарегистрирован 19.04.2024 № 47585)
Номер опубликования: 7801202404240004
Дата опубликования: 24.04.2024
Страница №2 из 16:
Увеличить