Официальное опубликование правовых актов
ОФИЦИАЛЬНОЕ ОПУБЛИКОВАНИЕ
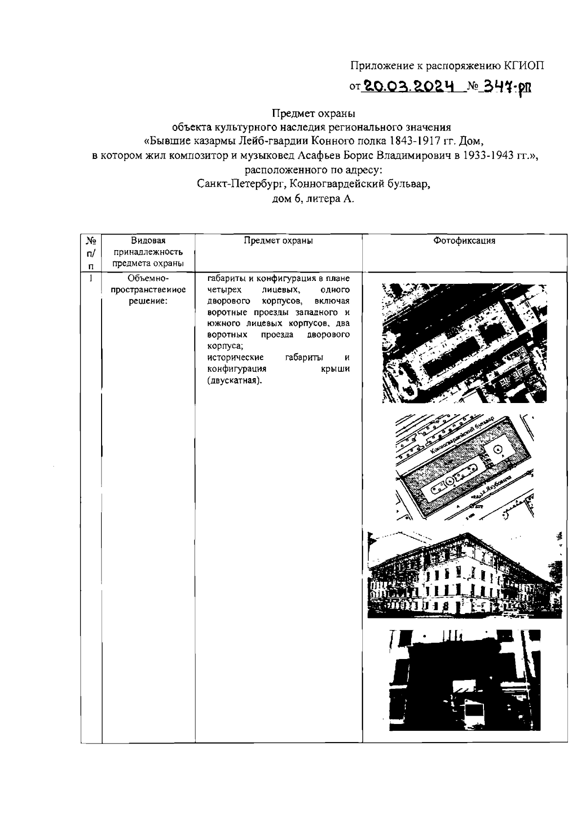
Распоряжение Комитета по государственному контролю, использованию и охране памятников истории и культуры Санкт-Петербурга от 20.03.2024 № 347-рп
"Об утверждении предмета охраны объекта культурного наследия регионального значения "Бывшие казармы Лейб-гвардии Конного полка 1843-1917 гг. Дом, в котором жил композитор и музыковед Асафьев Борис Владимирович в 1933-1943 гг."
(Зарегистрирован 20.03.2024 № 37314)
Номер опубликования: 7801202403220050
Дата опубликования: 22.03.2024
Страница №2 из 5:
Увеличить